Назад

Оригинальные каталоги

zoom-in zoom-out enlarge shrink circle-right circle-left file-text2 info cart
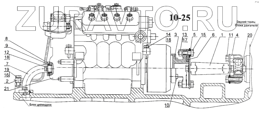
Номер Наименование Цена
1 7405.1111050 Вал привода ТНВД в сб для дв. 74011 с автоматич.муфтой опережения впрыска топлива (КАМАЗ) КАМАЗ ПАО
5002 Р
2 740.1111568 Трубка подвода масла Нет в продаже
3 7405.1111051 Полумуфта ведомая Нет в продаже
4 7406.1111054 Полумуфта ведущая Нет в продаже
5 7406.1111066 7406.1111066 - втулка 7406.1111066 Нет в продаже
6 7482.1111068 7482.1111068 - фланец центрирующий 7482.1111068 Нет в продаже
7 740.1111570 Трубка отвода масла (КАМАЗ)
244 Р
8 740.1111572 Фланец трубки топлива (КАМАЗ)
187 Р
9 740.1111578 740.1111578 - кольцо 740.1111578 Нет в продаже
10 1/6043421 Болт М8-6gх20 Нет в продаже
11 1/59707/31 Болт М10х1,25-6gх25 Нет в продаже
12 1/60432/21 Болт М8-6gх16 Нет в продаже
13 1/21647/21 Гайка М10х1,25-6Н Нет в продаже
14 1/60448/21 Болт М8-6gх80 Нет в продаже
15 1/59709/31 Болт М10х1,25-6gх35 Нет в продаже
16 1/02844/60 Прокладка уплотнительная 10х16х1,5 Нет в продаже
17 1/26386/71 Шайба плоская 10х18 Нет в продаже
18 1/05166/73 1/05166/73 - шайба 1 Нет в продаже
19 870007 870007 - болт м 10х1 25х23 870007 Нет в продаже
20 870813 Шпонка сегментная 6х9х22 Нет в продаже
21 337.1111005-40 Тнвд 337.1111005-40
100000 Р
1
2
3
4
5
6
7
8
9
10
11
12
13
14
15
16
17
18
18
19
20
21
100%
Содержащиеся в справочниках-каталогах запасные части и детали носят исключительно информационный характер