Оригинальные каталоги
| № | Номер | Наименование | Цена | |
|---|---|---|---|---|
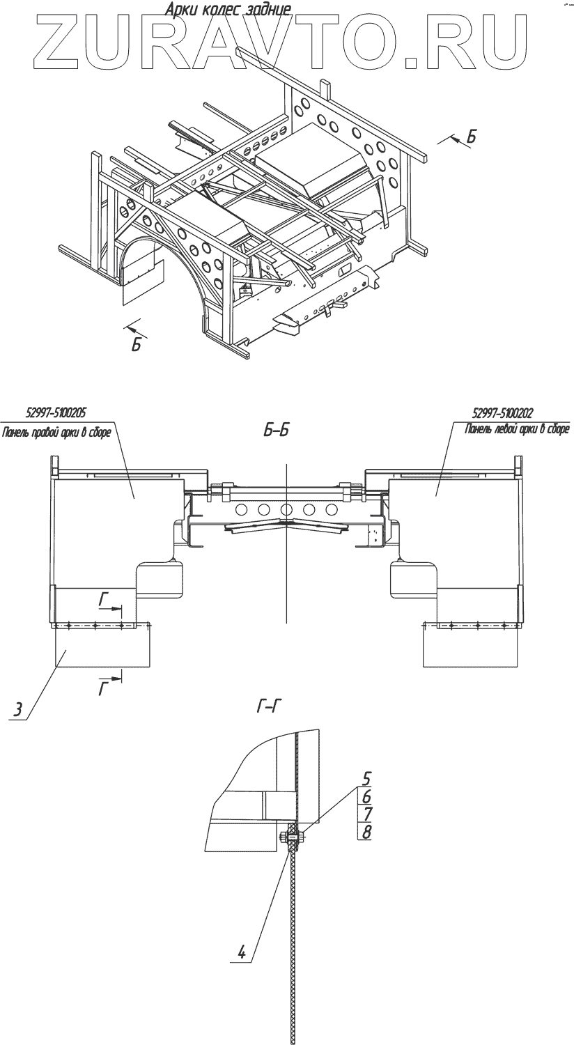
| 52997-5100205 | 52997-5100205 | Панель правой арки в сборе | Нет в продаже |
|
| 52997-5100202 | 52997-5100202 | Панель левой арки в сборе | Нет в продаже |
|
| 1 | 52997-5100701 | Брызговик передний | Нет в продаже |
|
| 2 | 52997-5100702 | Планка брызговика | Нет в продаже |
|
| 3 | 52997-5100703 | Брызговик | Нет в продаже |
|
| 4 | 52997-5100704 | Планка брызговика | Нет в продаже |
|
| 5 | 1/09024/21 | Болт М6-6gх20 | Нет в продаже |
|
| 6 | 1/58962/11 | Гайка М6х1 (БелЗАН) |
13 Р
|
|
| 7 | 1/26444/01 | 1/26444/01 - шайба 1 | Нет в продаже |
|
| 8 | 1/05164/70 | Шайба пружинная 6 | Нет в продаже |
|
52997-5100205
52997-5100202
3
4
5
6
7
8
Содержащиеся в справочниках-каталогах запасные части и детали носят исключительно информационный характер