Оригинальные каталоги
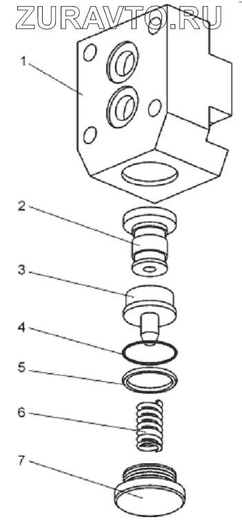
| № | Номер | Наименование | Цена | |
|---|---|---|---|---|
| 1 | 7823-4617107 | Корпус | Нет в продаже |
|
| 2 | 78211-4617114 | Седло (453642) | Нет в продаже |
|
| 3 | 78211-4617122 | Клапан (453642) | Нет в продаже |
|
| 4 | 78211-4617128 | Кольцо защитное | Нет в продаже |
|
| 5 | 027-032-30-2-2 | Кольцо | Нет в продаже |
|
| 6 | 78211-4617119 | Пружина | Нет в продаже |
|
| 7 | 78211-4617132 | Крышка | Нет в продаже |
|
1
2
3
4
5
6
7
Содержащиеся в справочниках-каталогах запасные части и детали носят исключительно информационный характер