Назад

Оригинальные каталоги

zoom-in zoom-out enlarge shrink circle-right circle-left file-text2 info cart
Номер Наименование Цена
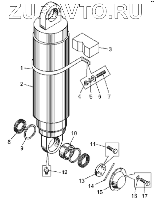
1 7513-8603530 Хомут крепления цилиндров Нет в продаже
2 7513-8603010 Цилиндр опрокидывающего механизма Нет в продаже
3 549-3923752 Призма Нет в продаже
4 250561 Гайка Нет в продаже
5 252139 Шайба Нет в продаже
6 252017 Шайба Нет в продаже
7 341015 Шпилька Нет в продаже
8 7519-8603680-10 Сальник Нет в продаже
9 540-8603076-10 Кольцо стопорное Нет в продаже
10 ШСЛ90К1 Подшипник Нет в продаже
11 340370 Болт Нет в продаже
12 2.3.90.Ц6Хр Масленка Нет в продаже
13 7549-8603198 Крышка Нет в продаже
14 258283 Шплинт Нет в продаже
15 7519-8603192 Крышка Нет в продаже
16 252135 Шайба Нет в продаже
17 201454 Болт Нет в продаже
1
2
3
4
5
6
7
8
9
10
11
12
13
14
15
16
17
100%
Содержащиеся в справочниках-каталогах запасные части и детали носят исключительно информационный характер