Оригинальные каталоги
| № | Номер | Наименование | Цена | |
|---|---|---|---|---|
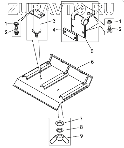
| 1 | 252135 | Шайба | Нет в продаже |
|
| 2 | 201457 | Болт | Нет в продаже |
|
| 3 | 7512-5107150 | Кронштейн передний | Нет в продаже |
|
| 4 | 549-6106120 | Пластина крепления фиксатора | Нет в продаже |
|
| 5 | 7512-5107170 | Петля | Нет в продаже |
|
| 6 | 7513-5107130 | Кожух пола | Нет в продаже |
|
| 7 | 252039 | Шайба | Нет в продаже |
|
| 8 | 252136 | Шайба | Нет в продаже |
|
| 9 | 251514 | Гайка | Нет в продаже |
|
1
1
1
1
2
2
2
2
3
4
5
6
7
8
9
Содержащиеся в справочниках-каталогах запасные части и детали носят исключительно информационный характер