Оригинальные каталоги
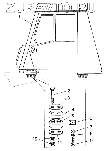
| № | Номер | Наименование | Цена | |
|---|---|---|---|---|
| 1 | 7545-5000012 | Кабина | Нет в продаже |
|
| 2 | 7555А-5001095 | Болт крепления кабины | Нет в продаже |
|
| 3 | 7555А-5001136 | Пластина верхняя | Нет в продаже |
|
| 4 | 7555А-5001081 | Подушка опоры кабины | Нет в продаже |
|
| 5 | 7555А-5001081-01 | Подушка опоры кабины | Нет в продаже |
|
| 6 | 7555А-5001097 | Кронштейн | Нет в продаже |
|
| 7 | 252005 | Шайба | Нет в продаже |
|
| 8 | 252155 | Шайба | Нет в продаже |
|
| 9 | 201456 | Болт | Нет в продаже |
|
| 10 | 3422371 | Гайка | Нет в продаже |
|
| 11 | 7555А-5001138 | Пластина | Нет в продаже |
|
1
2
3
4
5
6
7
8
9
10
11
Содержащиеся в справочниках-каталогах запасные части и детали носят исключительно информационный характер