Назад

Оригинальные каталоги

zoom-in zoom-out enlarge shrink circle-right circle-left file-text2 info cart
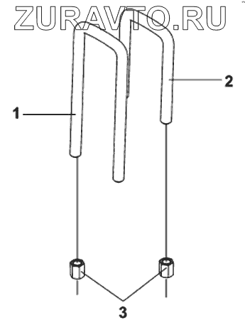
Номер Наименование Цена
1 29Z24-01131 Стремянка Нет в продаже
2 29ZB1-01131 Стремянка Нет в продаже
3 Q363B20 Гайка Нет в продаже
1
2
3
100%
Содержащиеся в справочниках-каталогах запасные части и детали носят исключительно информационный характер