Назад

Оригинальные каталоги

zoom-in zoom-out enlarge shrink circle-right circle-left file-text2 info cart
Номер Наименование Цена
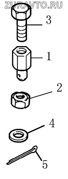
1 Т63202203 Штифт Нет в продаже
2 [Гайка GВ/Т6179-1986 М6] Гайка GВ/Т6179-1986 М6 Нет в продаже
3 [Болт М5х15 GВ/Т821-1988М5] Болт М5х15 GВ/Т821-1988М5 Нет в продаже
4 [Шайба GВ/Т95-1985 D6] Шайба GВ/Т95-1985 D6 Нет в продаже
5 [Шплинт GВ/Т700-1988 2х16] Шплинт GВ/Т700-1988 2х16 Нет в продаже
1
2
3
4
5
100%
Содержащиеся в справочниках-каталогах запасные части и детали носят исключительно информационный характер