Оригинальные каталоги
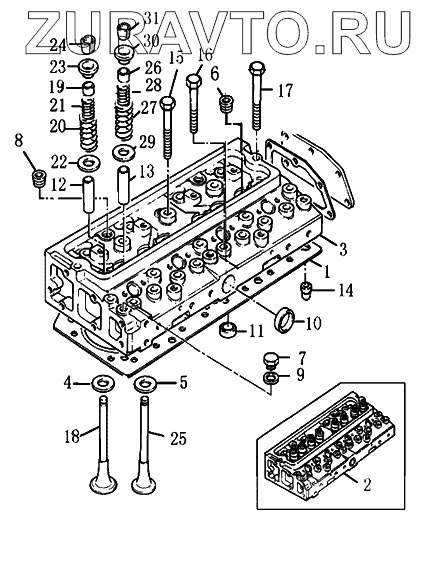
| № | Номер | Наименование | Цена | |
|---|---|---|---|---|
| 1 | Т3681Е033 | Прокладка | Нет в продаже |
|
| 2 | ТZZ80221 | Головка блока цилиндров в сборе | Нет в продаже |
|
| 3 | [Головка блока цилиндров] | Головка блока цилиндров | Нет в продаже |
|
| 4 | Т3324Е003 | Седло впускного клапана | Нет в продаже |
|
| 5 | Т3314А122 | Седло клапана | Нет в продаже |
|
| 6 | Т0650586 | Заглушка | Нет в продаже |
|
| 7 | Т0650203 | Заглушка | Нет в продаже |
|
| 8 | Т2431154 | Заглушка | Нет в продаже |
|
| 9 | Т2411157 | Шайба | Нет в продаже |
|
| 10 | Т0650710 | Заглушка | Нет в продаже |
|
| 11 | Т32417121 | Заглушка | Нет в продаже |
|
| 12 | Т3343F041 | Направляющая впускного клапана | Нет в продаже |
|
| 13 | Т3343J021 | Направляющая выпускного клапана | Нет в продаже |
|
| 14 | Т2114А046 | Фиксирующая втулка | Нет в продаже |
|
| 15 | Т32166219 | Болт | Нет в продаже |
|
| 16 | Т32166221 | Болт | Нет в продаже |
|
| 17 | Т32166222 | Болт | Нет в продаже |
|
| 18 | Т3142L072 | Впускной клапан | Нет в продаже |
|
| 19 | Т33817117 | Уплотнительное кольцо | Нет в продаже |
|
| 20 | Т31745122 | Наружная пружина впускного клапана | Нет в продаже |
|
| 21 | Т31744133 | Внутренняя пружина впускного клапана | Нет в продаже |
|
| 22 | Т33415118 | Шайба | Нет в продаже |
|
| 23 | Т33424107 | Крышка впускного клапана | Нет в продаже |
|
| 24 | Т33173108 | Сухарь впускного клапана | Нет в продаже |
|
| 25 | Т3142А051 | Выпускной клапан | Нет в продаже |
|
| 26 | Т33817117 | Уплотнительное кольцо | Нет в продаже |
|
| 27 | Т31745122 | Наружная пружина впускного клапана | Нет в продаже |
|
| 28 | Т31744133 | Внутренняя пружина впускного клапана | Нет в продаже |
|
| 29 | Т33415118 | Шайба | Нет в продаже |
|
| 30 | Т33424107 | Крышка впускного клапана | Нет в продаже |
|
| 31 | Т33173108 | Сухарь впускного клапана | Нет в продаже |
|
1
2
3
4
5
6
7
8
9
10
11
12
13
14
15
16
17
18
19
20
21
22
23
24
25
26
27
28
29
30
31
Содержащиеся в справочниках-каталогах запасные части и детали носят исключительно информационный характер