Назад

Оригинальные каталоги

zoom-in zoom-out enlarge shrink circle-right circle-left file-text2 info cart
Номер Наименование Цена
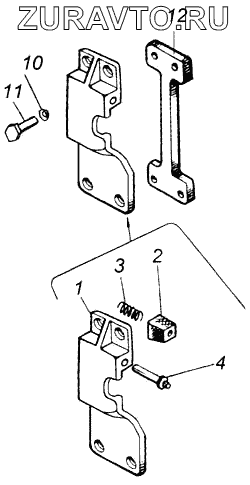
5320-6105034-10 5320-6105034-10 Фиксатор замка правый в сборе Нет в продаже
5320-6105034-10 5320-6105034-10 Фиксатор замка правый в сборе Нет в продаже
1 5320-6105036-10 Фиксатор замка двери правый Нет в продаже
1 5320-6105037-10 Фиксатор замка двери левый Нет в продаже
2 5320-6105038 Колодка фиксатора Нет в продаже
3 5320-6105039 Пружина фиксатора замка Нет в продаже
4 5320-6105047 Ось Нет в продаже
10 1/05164/77 Шайба 6 пружинная Нет в продаже
11 1/09024/21 Болт М6-6gх20 Нет в продаже
12 5320-6105041 5320-6105041 - пластина 5320-6105041 Нет в продаже
1
1
2
3
4
10
11
12
100%
Содержащиеся в справочниках-каталогах запасные части и детали носят исключительно информационный характер