Оригинальные каталоги
| № | Номер | Наименование | Цена | |
|---|---|---|---|---|
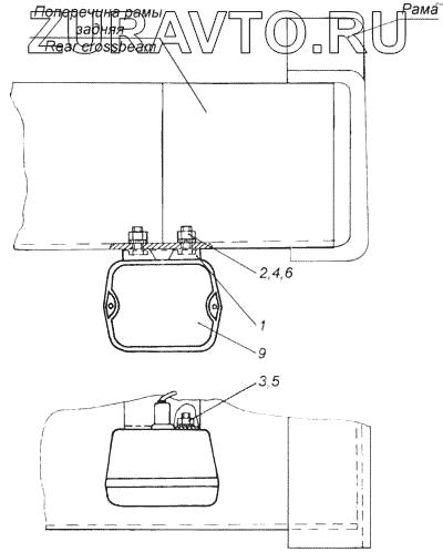
| 43114-3716006 | 43114-3716006 | Установка фонаря заднего хода | Нет в продаже |
|
| 1 | 5410-3716355 | 5410-3716355 - кронштейн 5410-3716355 | Нет в продаже |
|
| 2 | 1/59707/21 | Болт М10х1,25-6gх25 | Нет в продаже |
|
| 3 | 1/58962/11 | Гайка М6х1 (БелЗАН) |
13 Р
|
|
| 4 | 1/21647/21 | Гайка М10х1,25-6Н | Нет в продаже |
|
| 5 | 1/06154/71 | 1/06154/71 - шайба 1 | Нет в продаже |
|
| 6 | 1/06157/71 | 1/06157/71 - шайба 1 | Нет в продаже |
|
| 9 | 2112.3711 | Фонарь заднего хода в сборе | Нет в продаже |
|
1
2
3
4
5
6
9
Содержащиеся в справочниках-каталогах запасные части и детали носят исключительно информационный характер