Назад

Оригинальные каталоги

zoom-in zoom-out enlarge shrink circle-right circle-left file-text2 info cart
Номер Наименование Цена
4326-2400021-20 4326-2400021-20 Мост задний Нет в продаже
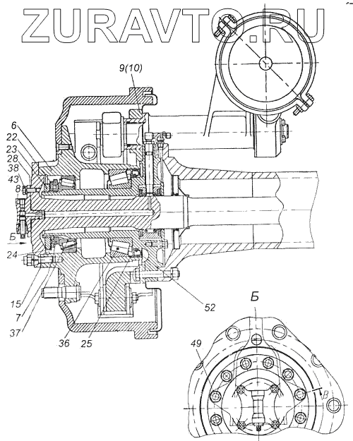
1 4326-2401007 Картер заднего моста с механизмом блокировки Нет в продаже
2 4310-2401080 Цапфа правая в сборе Нет в продаже
3 4310-2401081 Цапфа в сборе Нет в продаже
4 5320-2401114 5320-2401114 - клапан со штуцером 5320-2401114 Нет в продаже
5 43253-2402011-20 Передача главная заднего моста Нет в продаже
6 43114-3103010-10 Ступица с барабаном тормоза Нет в продаже
7 4310-3103076 Гайка подшипника (Ар Си ЭР) Ар Си ЭР, ООО, г. Набережные Челны
1093 Р
8 4310-3124110 Кран запора воздуха в сборе Нет в продаже
9 43114-3502010-13 Тормоз задний правый Нет в продаже
10 43114-3502011-13 Тормоз задний левый Нет в продаже
15 4310-2304091 Прокладка полуоси Нет в продаже
16 4310-2401016 Направляющая полуоси(ПАО КАМАЗ) КАМАЗ ПАО
153 Р
17 5320-2402034 Прокладка картера редуктора Нет в продаже
18 43118-2403069 43118-2403069 - полуось левая 43118-2403069 Нет в продаже
19 43118-2403070 43118-2403070 - полуось правая 43118-2403070 Нет в продаже
20 4310-2403072 Втулка разжимная шпильки полуоси заднего моста Нет в продаже
21 5320-2403072 5320-2403072 - втулка разжимная 5320-2403072 Нет в продаже
22 4310-3103079 Шайба замковая КАМАЗ ПАО
657 Р
23 4310-3103081 Контргайка подшипника (Ар Си ЭР)
978 Р
24 4310-3103082 4310-3103082 - шайба замковая 4310-3103082 Нет в продаже
25 4310-3103083-10 Кольцо Нет в продаже
26 4310-3124065 Штуцер ввертный передних колес Нет в продаже
27 4310-3124069 Переходник системы накачки шин задних колес Нет в продаже
28 4310-3124113 4310-3124113 - прокладка 4310-3124113 Нет в продаже
36 7518АК1 Подшипник роликовый конический однорядный ГОСТ 520-89 Нет в продаже
37 2007118А 2007118А - подшипник 2007118А (32018) 2007118А Нет в продаже
38 1/60432/21 Болт М8-6gх16 Нет в продаже
39 1/55411/21 Болт М12х1,25-6gх65 Нет в продаже
40 1/55413/21 Болт М12х1,25-6gх75 Нет в продаже
41 1/61015/11 Гайка М12х1,25-6Н Нет в продаже
42 1/21641/21 Гайка М16х1,5-6Н Нет в продаже
43 1/05166/77 Шайба 8 пружинная Нет в продаже
44 1/05170/77 Шайба 12 пружинная Нет в продаже
45 1/05172/77 Шайба 16 пружинная Нет в продаже
46 1/35302/31 Шпилька Нет в продаже
47 1/18004/31 Шпилька М16х1,5х22х35 Нет в продаже
48 1/18006/31 1/18006/31 - шпилька 1 Нет в продаже
49 853312 Шпилька Нет в продаже
50 853570 Гайка М12х1,25-6Н Нет в продаже
51 864000-10 864000-10 - клапан предохранительный 864000-10 Нет в продаже
52 864149-30 864149-30 - манжета в сборе 864149-30 Нет в продаже
53 864158-10 Манжета полуоси 4310 (лебедки) 59х135 (РТИ-Компонент)
344.3 Р
54 864341 Пробка КГ 1/8" Нет в продаже
60 2101-2401046 Пробка магнитная в сборе Нет в продаже
6
7
8
9
10
15
22
23
24
25
28
36
37
38
43
49
52
100%
Содержащиеся в справочниках-каталогах запасные части и детали носят исключительно информационный характер