Назад

Оригинальные каталоги

zoom-in zoom-out enlarge shrink circle-right circle-left file-text2 info cart
Номер Наименование Цена
53205-6104011 53205-6104011 53205-6104011 - стеклоподъемник левый 53205-6104011 Нет в продаже
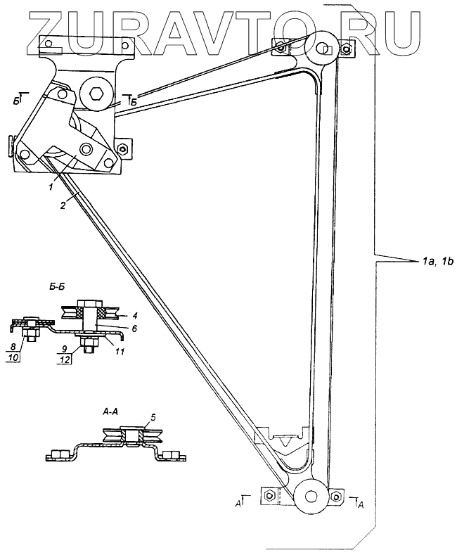
1 53205-6104030 Механизм стеклоподъемника двери в сборе Нет в продаже
1 53205-6104011 53205-6104011 - стеклоподъемник левый 53205-6104011 Нет в продаже
2 53205-6104151 Рамка стеклоподъемника левая сварка Нет в продаже
2 53205-6104150 Рамка стеклоподъемника правая (сварка) Нет в продаже
4 53205-6104120 Ролик Нет в продаже
5 53205-6104122 Ось Нет в продаже
6 53205-6104126 Ось натяжного ролика Нет в продаже
8 1/58964/11 Гайка М5-6Н Нет в продаже
9 1/58962/11 Гайка М6х1 (БелЗАН)
13 Р
10 1/11954/73 Шайба 5 пружинная Нет в продаже
11 1/26397/01 1/26397/01 - шайба 1 Нет в продаже
12 1/05164/73 1/05164/73 - шайба 1 Нет в продаже
1
1
2
2
4
5
6
8
9
10
11
12
100%
Содержащиеся в справочниках-каталогах запасные части и детали носят исключительно информационный характер