Оригинальные каталоги
| № | Номер | Наименование | Цена | |
|---|---|---|---|---|
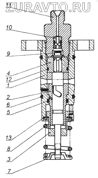
| 323.1111039-01 | 323.1111039-01 | Секция 323.1111039-01 |
5097 Р
|
|
| 1 | 337.1111041 | Корпус секции со штифтом 337.1111041 |
4069 Р
|
|
| 2 | 337.1111150-20 | Пара плунжерная | Нет в продаже |
|
| 3 | 332.1111172 | Втулка поворотная с осью | Нет в продаже |
|
| 4 | 323.1111220-10 | Клапан нагнетательный 323.1111220-10 |
676 Р
|
|
| 5 | 33.1111054 | Кольцо уплотнительное | Нет в продаже |
|
| 6 | 33.1111069 | Кольцо уплотнительное | Нет в продаже |
|
| 7 | 332.1111135 | Тарелка пружины толкателя | Нет в продаже |
|
| 8 | 337.1111138-03 | Пружина 337.1111138-03 |
211 Р
|
|
| 9 | 323.1111228 | 323.1111228 - пружина 323.1111228 | Нет в продаже |
|
| 10 | 323.1111234 | Упор 323.1111234 |
108 Р
|
|
| 11 | 323.1111256-10 | Штуцер 323.1111256-10 ЯЗДА, АО, г. Ярославль |
291 Р
|
|
| 12 | 33.1111259 | Кольцо уплотнительное | Нет в продаже |
|
| 13 | 870622-П | Шайба 19 | Нет в продаже |
|
1
2
3
4
5
6
7
8
9
10
11
12
13
Содержащиеся в справочниках-каталогах запасные части и детали носят исключительно информационный характер