Оригинальные каталоги
| № | Номер | Наименование | Цена | |
|---|---|---|---|---|
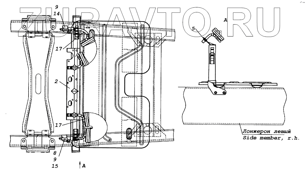
| 2 | 5410-3520019 | Кронштейн соединительных шлангов | Нет в продаже |
|
| 5 | 1/07266/11 | 1/07266/11 - гайка 1 | Нет в продаже |
|
| 8 | 861023 | Шайба (КАМАЗ) КАМАЗ ПАО |
18 Р
|
|
| 9 | 864236 | 864236 - кольцо уплотнительное 864236 | Нет в продаже |
|
| 14 | 6022-3521110 | Головка соединительная автоматическая | Нет в продаже |
|
| 15 | 6023-3521111 | Головка соединительная автоматическая | Нет в продаже |
|
| 17 | 657-3506342 | 657-3506342 - трубопровод 657-3506342 | Нет в продаже |
|
2
5
8
9
9
14
15
17
17
Содержащиеся в справочниках-каталогах запасные части и детали носят исключительно информационный характер