Назад

Оригинальные каталоги

zoom-in zoom-out enlarge shrink circle-right circle-left file-text2 info cart
Номер Наименование Цена
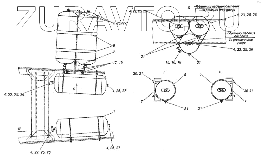
6460-3500013 6460-3500013 Установка воздушных ресиверов Нет в продаже
1 53205-3513015 Ресивер (баллон воздушный) (КАМАЗ)
5611 Р
2 54112-3513081-10 Кронштейн (КАМАЗ)
4845 Р
4 740-1003439 Кольцо уплотнительное Нет в продаже
5 5320-3513085-20 Хомут Нет в продаже
6 54112-3513185-10 Хомут Нет в продаже
7 5320-3513092-10 Прокладка Нет в продаже
15 1/58887/21 Болт М10х1,25-6gх55 Нет в продаже
16 1/21647/11 Гайка М10х1,25-6Н Нет в продаже
17 1/21641/11 Гайка М16х1,5-6Н Нет в продаже
18 1/05168/77 Шайба 10 пружинная Нет в продаже
19 1/05172/77 Шайба 16 пружинная Нет в продаже
20 1/26467/01 1/26467/01 - шайба 1 Нет в продаже
21 251645 Гайка М8-6Н ОСТ 37.001.197-75 Нет в продаже
22 861007 861007 - угольник 861007 Нет в продаже
23 861013 Тройник М18*22*12
2374 Р
24 861015 861015 - тройник 861015 Нет в продаже
25 861021 861021 - гайка 861021 Нет в продаже
26 861024 Шайба d22 (КАМАЗ)
17 Р
27 864323 864323 - пробка 864323 Нет в продаже
31 16-3513110 Кран слива конденсата в сборе Нет в продаже
1
2
4
4
4
4
4
4
4
4
5
5
6
7
7
15
16
17
18
19
20
20
21
21
22
22
22
23
23
25
25
25
25
25
26
26
26
26
26
26
26
26
27
27
27
31
31
31
31
100%
Содержащиеся в справочниках-каталогах запасные части и детали носят исключительно информационный характер