Назад

Оригинальные каталоги

zoom-in zoom-out enlarge shrink circle-right circle-left file-text2 info cart
Номер Наименование Цена
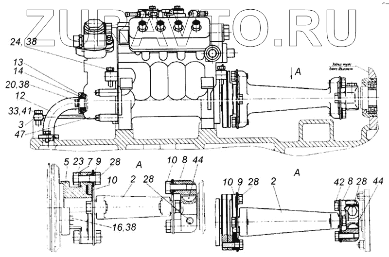
2 7405.1111050 Вал привода ТНВД в сб для дв. 74011 с автоматич.муфтой опережения впрыска топлива (КАМАЗ) КАМАЗ ПАО
5002 Р
2 7406.1111050 Вал привода ТНВД в сборе Нет в продаже
3 740.13-1111568 Трубка подвода масла к ТНВД (КАМАЗ) КАМАЗ ПАО
1446 Р
4 740.1111568 Трубка подвода масла Нет в продаже
5 7405.1111051 Полумуфта ведомая Нет в продаже
7 7405.1111062 Шайба Нет в продаже
8 7406.1111054 Полумуфта ведущая Нет в продаже
8 740.51-1111054 Полумуфта ведущая Нет в продаже
9 7406.1111066 7406.1111066 - втулка 7406.1111066 Нет в продаже
10 7482.1111068 7482.1111068 - фланец центрирующий 7482.1111068 Нет в продаже
12 740.1111570 Трубка отвода масла (КАМАЗ)
244 Р
13 740.1111572 Фланец трубки топлива (КАМАЗ)
187 Р
14 740.1111578 740.1111578 - кольцо 740.1111578 Нет в продаже
16 1/6043421 Болт М8-6gх20 Нет в продаже
18 1/59707/31 Болт М10х1,25-6gх25 Нет в продаже
20 1/60432/21 Болт М8-6gх16 Нет в продаже
21 1/13070/31 Болт М10х1,25-6gх40 Нет в продаже
23 1/2 1647/21 Гайка М10х1,25-6Н Нет в продаже
24 1/60448/21 Болт М8-6gх80 Нет в продаже
26 1/05168/73 1/05168/73 - шайба 1 Нет в продаже
28 1 /54709/31 Болт М10х1,25-6gх35 Нет в продаже
33 1/02844/60 Прокладка уплотнительная 10х16х1,5 Нет в продаже
37 1/26386/71 Шайба плоская 10х18 Нет в продаже
38 1/05166/73 1/05166/73 - шайба 1 Нет в продаже
41 870007 870007 - болт м 10х1 25х23 870007 Нет в продаже
42 870012 Болт М10х1,25-6gх30 Нет в продаже
44 870813 Шпонка сегментная 6х9х22 Нет в продаже
47 337/1111005-40 Насос топливный высокого давления Нет в продаже
47 337.1111005-42 Тнвд 337.1111005-42
122930 Р
2
2
2
3
5
7
8
8
8
9
9
10
10
10
12
13
14
16
20
23
24
28
28
28
28
33
38
38
38
41
42
44
44
47
47
100%
Содержащиеся в справочниках-каталогах запасные части и детали носят исключительно информационный характер