Оригинальные каталоги
| № | Номер | Наименование | Цена | |
|---|---|---|---|---|
| 12.3520097 | 12.3520097 | Заклепка 2,5х5 | Нет в продаже |
|
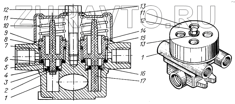
| 11.3515450 | 11.3515450 | Клапан | Нет в продаже |
|
| 11.3515410 | 11.3515410 | Клапан защитный четырехконтурный в сборе | Нет в продаже |
|
| 11.3515451 | 11.3515451 | Шайба | Нет в продаже |
|
| 1 | 11.3515420 | Корпус | Нет в продаже |
|
| 2 | Проволока Д КРНМ 1,0Л63 | Проволока Д КРНМ 1,0Л63 | Нет в продаже |
|
| 3 | 11.3515423 | Шайба | Нет в продаже |
|
| 4 | 11.3515434 | Клапан | Нет в продаже |
|
| 5 | 11.3515436 | Втулка | Нет в продаже |
|
| 6 | 11.3515422 | Седло | Нет в продаже |
|
| 7 | 100-3514028 | Кольцо 20,3х2,4 | Нет в продаже |
|
| 8 | 11.3515430 | Поршень | Нет в продаже |
|
| 9 | 11.3515452 | Прокладка | Нет в продаже |
|
| 10 | 11.3515428 | Пружина | Нет в продаже |
|
| 11 | 11.3515424 | Крышка | Нет в продаже |
|
| 12 | 201505-П29 | Болт М10х1,5х45 | Нет в продаже |
|
| 13 | 11.3515418 | Шайба уплотнительная | Нет в продаже |
|
| 14 | 11.3515427 | Шайба регулировочная | Нет в продаже |
|
| 15 | 11.3515426 | Поршень | Нет в продаже |
|
| 16 | 11.3515439 | Пружина клапана | Нет в продаже |
|
| 17 | 11.3515431 | Направляющая | Нет в продаже |
|
1
1
2
3
4
5
6
7
8
9
10
11
11
12
12
13
13
14
15
16
17
Содержащиеся в справочниках-каталогах запасные части и детали носят исключительно информационный характер