Оригинальные каталоги
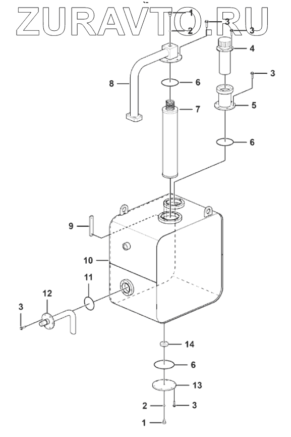
| № | Номер | Наименование | Цена | |
|---|---|---|---|---|
| 1 | 4041000774 | Plug lgb13501421 | Нет в продаже |
|
| 2 | 4041000767 | O-ring lgb168-11124 | Нет в продаже |
|
| 3 | 4011000458 | Bolt gb16674-m8x20ep.zn-8.8 | Нет в продаже |
|
| 4 | 4120000303 | Oil filter | Нет в продаже |
|
| 5 | 27160106261 | Oil charging breather bracket | Нет в продаже |
|
| 6 | 4030000633 | O-ring gb3452.1-128x3.55g | Нет в продаже |
|
| 7 | 4120001743 | Return oil filter | Нет в продаже |
|
| 8 | 27160109021 | Flage assembly | Нет в продаже |
|
| 9 | 4120000317 | Level ywz-127 | Нет в продаже |
|
| 10 | 27160108811 | Hydraulic oil tank body | Нет в продаже |
|
| 11 | 4030000619 | O-ring gb3452.1-109x3.55g | Нет в продаже |
|
| 12 | 27160109001 | Flange assembly | Нет в продаже |
|
| 13 | 27160105801 | Release oil flange cover | Нет в продаже |
|
| 14 | 4120000669 | Ring magnet lg03-ct58x20x13 | Нет в продаже |
|
1
1
2
2
3
3
3
3
3
4
5
6
6
6
7
8
9
10
11
12
13
14
Содержащиеся в справочниках-каталогах запасные части и детали носят исключительно информационный характер