Оригинальные каталоги
| № | Номер | Наименование | Цена | |
|---|---|---|---|---|
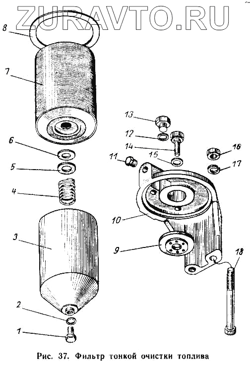
| 201-1117020 | 201-1117020 | Корпус топливного фильтра тонкой очистки | Нет в продаже |
|
| 201-1117024-В | 201-1117024-В | Стержень топливного фильтра тонкой очистки | Нет в продаже |
|
| 236-1117010-А | 236-1117010-А | Фильтр тонкой очистки топлива в сборе | Нет в продаже |
|
| 201-1117038-А | 201-1117038-А | Элемент фильтрующий фильтра тонкой очистки топлива в сборе в упаковке | Нет в продаже |
|
| 1 | 316144-П29 | Пробка | Нет в продаже |
|
| 2 | 312482-П | Шайба | Нет в продаже |
|
| 3 | 201-1117016-А | Корпус топливного фильтра тонкой очистки в сборе | Нет в продаже |
|
| 4 | 201-1117030 | Пружина фильтра тонкой очистки топлива | Нет в продаже |
|
| 5 | 252016-П29 | Шайба | Нет в продаже |
|
| 6 | 201-1117114 | Прокладка фильтрующего элемента фильтра тонкой очистки топлива | Нет в продаже |
|
| 7 | 201-1117036-А | Элемент фильтрующий фильтра тонкой очистки топлива в сборе | Нет в продаже |
|
| 8 | 201-1117118 | Прокладка крышки фильтра тонкой очистки топлива | Нет в продаже |
|
| 9 | 201-1117116-А | Прокладка фильтрующего элемента | Нет в продаже |
|
| 10 | 236-1117028-Б | Крышка фильтра тонкой очистки топлива | Нет в продаже |
|
| 11 | 316121-П29 | Пробка | Нет в продаже |
|
| 12 | 312630-П | Шайба 312630-П ЯЗДА, АО, г. Ярославль |
38 Р
|
|
| 13 | 236-1117155 | Жиклер | Нет в продаже |
|
| 14 | 201-1117122 | Болт крепления крышки фильтра тонкой очистки топлива к корпусу фильтра | Нет в продаже |
|
| 15 | 201-1117120 | Прокладка болта фильтра тонкой очистки топлива | Нет в продаже |
|
| 16 | 250512-П29 | Гайка | Нет в продаже |
|
| 17 | 252136-П2 | Шайба | Нет в продаже |
|
| 18 | 200328-П29С | Болт крепления фильтра | Нет в продаже |
|
1
2
3
4
5
6
7
8
9
10
11
12
13
14
15
16
17
18
Содержащиеся в справочниках-каталогах запасные части и детали носят исключительно информационный характер