Оригинальные каталоги
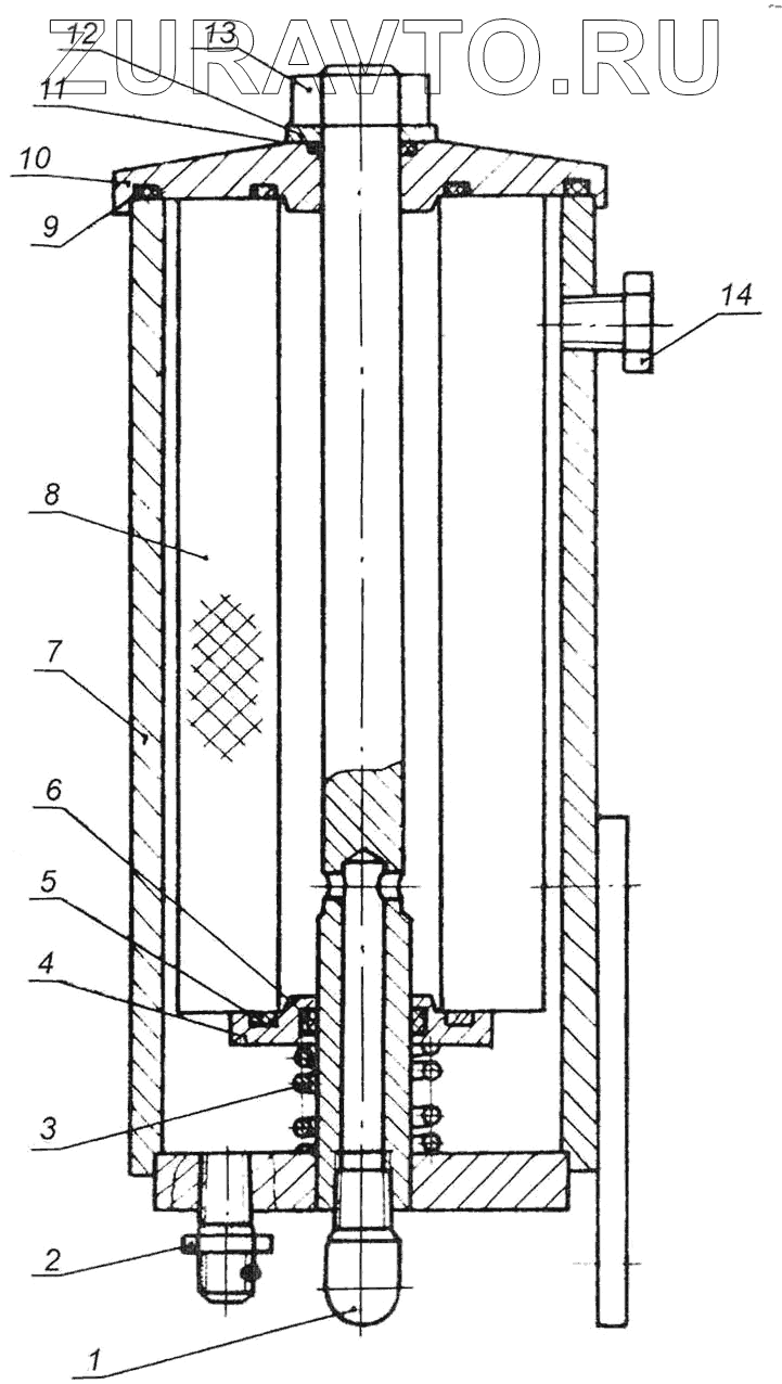
| № | Номер | Наименование | Цена | |
|---|---|---|---|---|
| 1 | 379055 | Угольник | Нет в продаже |
|
| 2 | 546П-3408078 | Ниппель | Нет в продаже |
|
| 3 | 6401-8607044 | Пружина | Нет в продаже |
|
| 4 | 6507-1704520-01 | Кольцо опорное | Нет в продаже |
|
| 5 | 036-042-36-2-2 | Кольцо | Нет в продаже |
|
| 6 | 018-024-36-2-2 | Кольцо ГОСТ 18829-73 | Нет в продаже |
|
| 7 | 6507-1704510-01-СБ | Корпус фильтра | Нет в продаже |
|
| 8 | Р412-1-05 | Элемент фильтрующий | Нет в продаже |
|
| 9 | 084-090-36-2-2 | Кольцо ГОСТ 18829-73 | Нет в продаже |
|
| 10 | 6507-1704518-01 | Крышка | Нет в продаже |
|
| 11 | 016-020-25-2-2 | Кольцо ГОСТ 18829-73 | Нет в продаже |
|
| 12 | 252017 | Шайба 16 | Нет в продаже |
|
| 13 | 250560 | Гайка М16 | Нет в продаже |
|
| 14 | 262541 | Пробка | Нет в продаже |
|
1
2
3
4
5
6
7
8
9
10
11
12
13
14
Содержащиеся в справочниках-каталогах запасные части и детали носят исключительно информационный характер