Назад

Оригинальные каталоги

zoom-in zoom-out enlarge shrink circle-right circle-left file-text2 info cart
Номер Наименование Цена
69237-5000040-10 69237-5000040-10 Механизм подъема кабины Нет в продаже
79092-5005048 79092-5005048 Прижим Нет в продаже
200В-2703146 200В-2703146 Пружина Нет в продаже
79092-5005020 79092-5005020 Рычаг насоса Нет в продаже
79092-5000042 79092-5000042 Укладка рычага подъема кабины Нет в продаже
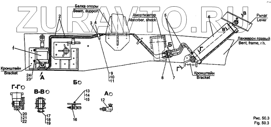
1 79092-5004010 Насос опрокидывающего механизма кабины Нет в продаже
2 69237-5009004-10 Трубопровод Нет в продаже
3 547А-3724872 Втулка Нет в продаже
4 315409 Кляммер Нет в продаже
5 79092-5009160 Шланг Нет в продаже
6 79092-5003010-10 Цилиндр гидравлический Нет в продаже
7 250559 Гайка М14х1,5-6Н Нет в продаже
8 79092-5009069 Переходник Нет в продаже
9 201422 Болт М6-6gх25 Нет в продаже
10 250508 Гайка М6-6Н Нет в продаже
11 252134 Шайба 6Т Нет в продаже
12 379812 Угольник Нет в продаже
13 201456 Болт М8-6gх20 Нет в продаже
14 250510 Гайка М8х1-6Н Нет в продаже
15 252135 Шайба 8Т Нет в продаже
16 69237-5009062 Кронштейн Нет в продаже
17 377864 Палец 16х58 Нет в продаже
18 258054 Шплинт 4х32 Нет в продаже
19 376035 Шайба 16 Нет в продаже
20 201588 Болт М14-6gх38 Нет в продаже
21 252046-10 Шайба 14 Нет в продаже
22 252138 Шайба 14 ОТ Нет в продаже
23 252136 Шайба 10 ОТ Нет в продаже
24 201497 Болт М10-6gх25 Нет в продаже
1
2
3
4
5
6
7
8
9
10
11
12
13
14
15
16
17
18
19
20
21
22
23
24
100%
Содержащиеся в справочниках-каталогах запасные части и детали носят исключительно информационный характер