Оригинальные каталоги
| № | Номер | Наименование | Цена | |
|---|---|---|---|---|
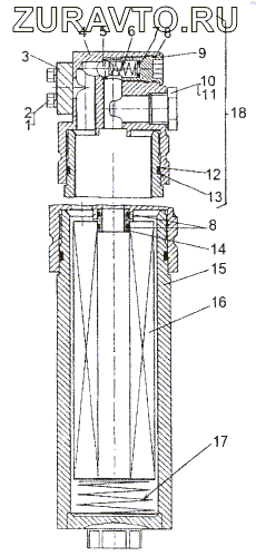
| 1 | 201497 | Болт М10-6gх25 | Нет в продаже |
|
| 2 | 252156 | Шайба 10Л | Нет в продаже |
|
| 3 | 742952-1915024 | Крышка | Нет в продаже |
|
| 4 | 80211-1910062-12 | Крышка | Нет в продаже |
|
| 4 | 80211-1910062-11 | Крышка | Нет в продаже |
|
| 4 | 80211-1910062-10 | Крышка | Нет в продаже |
|
| 5 | 0000-3710201 | Шарик 14-40 | Нет в продаже |
|
| 5 | 0001-1910001 | Шарик RB-14 | Нет в продаже |
|
| 6 | 7930-1910066 | Пружина | Нет в продаже |
|
| 7 | 375455 | Шайба 8 | Нет в продаже |
|
| 8 | 0000-1923732 | Кольцо 020-024-25-2-2 | Нет в продаже |
|
| 9 | 7930-1910070 | Пробка | Нет в продаже |
|
| 10 | 7413-1922050 | Заглушка | Нет в продаже |
|
| 11 | 376193 | Шайба 27 | Нет в продаже |
|
| 12 | 0000-1704787 | Кольцо 075-081-36-2-2 | Нет в продаже |
|
| 13 | 80211-1910086 | Кольцо защитное | Нет в продаже |
|
| 14 | 7930-1910054 | Втулка | Нет в продаже |
|
| 15 | 80211-1910080 | Корпус фильтра | Нет в продаже |
|
| 16 | 0000-1910129 | Фильтр-элемент РЕГОТМАС 605-1-03 | Нет в продаже |
|
| 16 | 0000-1716320 | Фильтр-элемент РЕГОТМАС 605-1-06 | Нет в продаже |
|
| 17 | 543-1308248 | Пружина сальника | Нет в продаже |
|
| 18 | 80211-1910060-10 | Фильтр | Нет в продаже |
|
1
2
3
4
4
4
5
5
6
7
8
8
9
10
11
12
13
14
15
16
16
17
18
Содержащиеся в справочниках-каталогах запасные части и детали носят исключительно информационный характер