Оригинальные каталоги
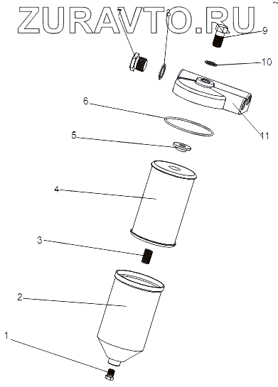
| № | Номер | Наименование | Цена | |
|---|---|---|---|---|
| 1 | 740-1117104 | Пробка сливная | Нет в продаже |
|
| 2 | 740-1117078 | Колпак | Нет в продаже |
|
| 3 | 740-1117029 | Пружина | Нет в продаже |
|
| 4 | ЭФТ714-1117040 | Элемент фильтрующий | Нет в продаже |
|
| 5 | 740-1117116 | Прокладка верхняя | Нет в продаже |
|
| 6 | 740-1117118 | Прокладка колпака | Нет в продаже |
|
| 6 | 0000-1308849 | Кольцо У-85х80-2 | Нет в продаже |
|
| 7 | 378609 | Пробка М22х1,5-6h | Нет в продаже |
|
| 8 | 409285 | Прокладка 22 М3 | Нет в продаже |
|
| 9 | 740-1117122 | Болт | Нет в продаже |
|
| 10 | 409281 | Прокладка 14М3 | Нет в продаже |
|
| 11 | 543-1015342 | Крышка фильтра | Нет в продаже |
|
1
2
3
4
5
6
6
7
8
9
10
11
Содержащиеся в справочниках-каталогах запасные части и детали носят исключительно информационный характер