Назад

Оригинальные каталоги

zoom-in zoom-out enlarge shrink circle-right circle-left file-text2 info cart
Номер Наименование Цена
374235 374235 Гайка М8-6Н Нет в продаже
373220 373220 Шпилька М8х25 Нет в продаже
0000-3410201 0000-3410201 Шарик 26,988-100 Нет в продаже
375458 375458 Шайба 8 Нет в продаже
7410-2024056 7410-2024056 Фланец Нет в продаже
378653 378653 Пробка М45х2-6g Нет в продаже
7413-1909106 7413-1909106 Направляющая Нет в продаже
7922-3416066-10 7922-3416066-10 Наконечник Нет в продаже
7930-1910026 7930-1910026 Крышка Нет в продаже
0000-3515839 0000-3515839 Кольцо У-35х30-2 Нет в продаже
374240 374240 Гайка М8х1-5Н6Н Нет в продаже
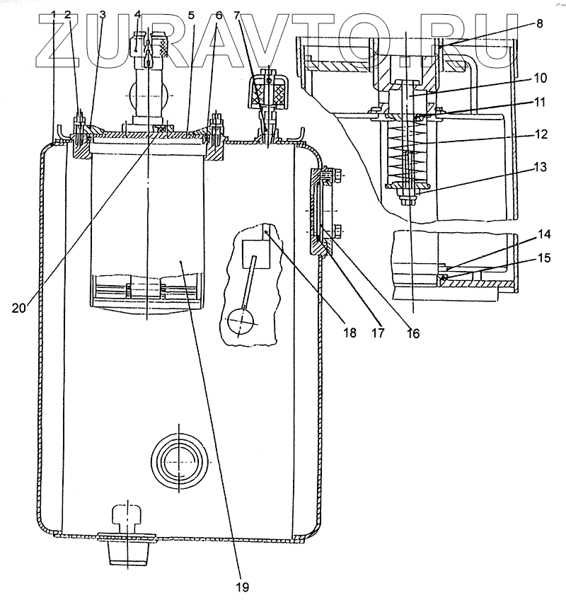
1 7930-3410016 Корпус бака с фланцами Нет в продаже
2 250510 Гайка М8х1-6Н Нет в продаже
3 7413-1909052 Упор Нет в продаже
4 7413-1909080 Горловина заливная Нет в продаже
5 7930-1910028 Крышка Нет в продаже
6 0000-1918814 Кольцо 150-155-36-2-2 Нет в продаже
7 7413-1711560 Сапун Нет в продаже
8 7413-1909102 Корпус клапана Нет в продаже
10 370742 Болт М8-6gх80 Нет в продаже
11 7413-1909104 Клапан Нет в продаже
12 535А-1517146 Пружина клапана Нет в продаже
13 251645 Гайка М8-6Н Нет в продаже
14 543-1716102-Б Секция фильтра тонкой очистки Нет в продаже
15 7413-1909028 Втулка Нет в продаже
16 7410-2024055 Стекло смотровое Нет в продаже
17 7410-2024053 Кольцо уплотнительное Нет в продаже
18 7930-3827020-01 Датчик указателя уровня масла Нет в продаже
19 7413-1909024 Фильтр с клапаном Нет в продаже
20 0000-1716759 Кольцо 039-045-36-2-2 Нет в продаже
1
2
3
4
5
6
7
8
10
11
12
13
14
15
16
17
18
19
20
100%
Содержащиеся в справочниках-каталогах запасные части и детали носят исключительно информационный характер