Оригинальные каталоги
| № | Номер | Наименование | Цена | |
|---|---|---|---|---|
| 79092-1300000 | 79092-1300000 | Система охлаждения двигателя | Нет в продаже |
|
| 79092-1300005 | 79092-1300005 | Установка радиатора | Нет в продаже |
|
| 79092-1300020 | 79092-1300020 | Установка расширительного бачка | Нет в продаже |
|
| 79092-1300010 | 79092-1300010 | Установка трубопроводов системы охлаждения | Нет в продаже |
|
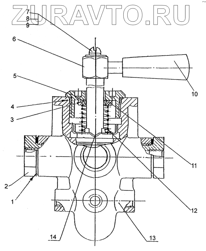
| 1 | 543-3506013 | Прокладка 12М3 | Нет в продаже |
|
| 2 | 543-1104224 | Болт поворотного угольника | Нет в продаже |
|
| 3 | 0000-2402726 | Кольцо 016-020-25-2-2 | Нет в продаже |
|
| 4 | 0000-1116763 | Кольцо 043-047-25-2-2 | Нет в продаже |
|
| 5 | 543-1116054-10 | Гайка топливораспределительного крана | Нет в продаже |
|
| 6 | 543-1116060 | Рукоятка | Нет в продаже |
|
| 7 | 220105 | Винт М6-6gх16 | Нет в продаже |
|
| 8 | 252037 | Шайба 6 | Нет в продаже |
|
| 9 | 252134 | Шайба 6Т | Нет в продаже |
|
| 10 | 503Л-8606275 | Ручка | Нет в продаже |
|
| 11 | 543-1116042 | Тарелка | Нет в продаже |
|
| 12 | 537-2402442-Б | Пружина | Нет в продаже |
|
| 13 | 543-1116012-10 | Корпус с пробкой | Нет в продаже |
|
| 14 | 543-1116034 | Защелка крана | Нет в продаже |
|
1
2
3
4
5
6
7
8
9
10
11
12
13
14
Содержащиеся в справочниках-каталогах запасные части и детали носят исключительно информационный характер