Оригинальные каталоги
| № | Номер | Наименование | Цена | |
|---|---|---|---|---|
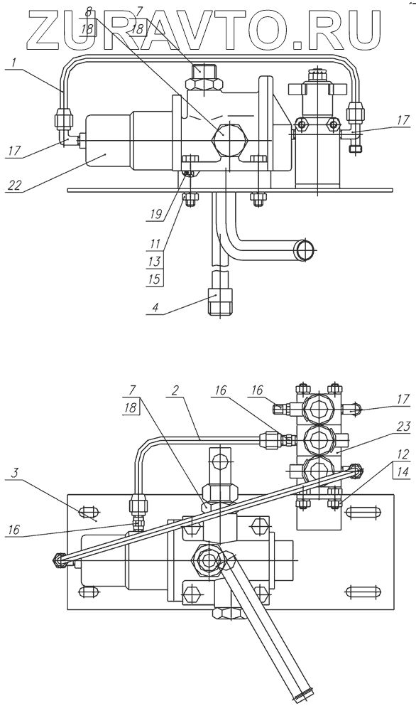
| 65115-8607120СБ | 65115-8607120СБ | Блок управления | Нет в продаже |
|
| 1 | 65115-8606030СБ | Трубка подвода воздуха | Нет в продаже |
|
| 2 | БЭК 37.020 | Трубка подвода воздуха | Нет в продаже |
|
| 3 | 65115-8607020-10 | Кронштейн | Нет в продаже |
|
| 4 | 65115-8609110 | Труба высокого давления | Нет в продаже |
|
| 7 | 65115-8609101 | Штуцер | Нет в продаже |
|
| 8 | 65115-8609102 | Пробка | Нет в продаже |
|
| 11 | 1/13438/31 | 1/13438/31 - болт М10х50х1,25 1 | Нет в продаже |
|
| 13 | 1/21647/11 | Гайка | Нет в продаже |
|
| 16 | 853973 | Штуцер проходной | Нет в продаже |
|
| 17 | 864822 | 864822 - угольник ввертной 864822 | Нет в продаже |
|
| 18 | 024-028-25-2-3 | Кольцо | Нет в продаже |
|
| 19 | 080-090-58-2-3 | Кольцо | Нет в продаже |
|
| 22 | 6520-8607010-10 | Гидрораспределитель | Нет в продаже |
|
| 23 | БЭК 37.000-02 | Блок электромагнитных клапанов | Нет в продаже |
|
65115-8607120СБ
1
2
3
4
7
7
8
11
13
16
16
16
17
17
17
18
18
18
19
22
23
Содержащиеся в справочниках-каталогах запасные части и детали носят исключительно информационный характер