Оригинальные каталоги
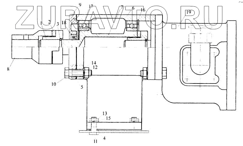
| № | Номер | Наименование | Цена | |
|---|---|---|---|---|
| 1 | 5511-4202062-20 | Полумуфта КОМ (КАМАЗ) |
3177 Р
|
|
| 2 | 5511-4202064 | 5511-4202064 - компенсатор 5511-4202064 | Нет в продаже |
|
| 3 | 5511-4202081 | Кольцо стопорное | Нет в продаже |
|
| 4 | 96741-8000055 | Прокладка | Нет в продаже |
|
| 5 | 96741-01-8000091 | Прокладка | Нет в продаже |
|
| 6 | 9676-8000408 | Корпус | Нет в продаже |
|
| 7 | 9676-8000409 | Вал | Нет в продаже |
|
| 8 | 9676-8000413 | Полу муфта | Нет в продаже |
|
| 9 | 9676-8000414 | Крышка | Нет в продаже |
|
| 11 | 1/55404/21 | Болт ТЕМ12-6gх30 | Нет в продаже |
|
| 12 | 1/21647/11 | Гайка | Нет в продаже |
|
| 13 | 1/61015/11 | Гайка М12х1,25-6Н | Нет в продаже |
|
| 15 | 1/05170/70 | Шайба пружинная 12 | Нет в продаже |
|
| 16 | Кольцо 2Б90 ГОСТ 13941-86 | Кольцо 2Б90 ГОСТ 13941-86 | Нет в продаже |
|
| 17 | Подшипник 111 ГОСТ 8338-75 | Подшипник 111 ГОСТ 8338-75 | Нет в продаже |
|
| 18 | Манжета 1,2-25х42-1 ГОСТ 8752-79 | Манжета 1,2-25х42-1 ГОСТ 8752-79 | Нет в продаже |
|
| 19 | Гидромотор ГМШ 32-3-Л-00 ОСТ 23.1.172-86 | Гидромотор ГМШ 32-3-Л-00 ОСТ 23.1.172-86 | Нет в продаже |
|
1
2
3
4
5
6
7
8
9
11
12
13
15
16
17
18
19
Содержащиеся в справочниках-каталогах запасные части и детали носят исключительно информационный характер