Оригинальные каталоги
| № | Номер | Наименование | Цена | |
|---|---|---|---|---|
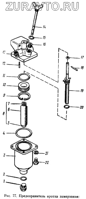
| 100-3536035 | 100-3536035 | Пробка транспортная | Нет в продаже |
|
| 1 | 305062-П29 | Пробка предохранительная | Нет в продаже |
|
| 2 | 305768-П | Шайба | Нет в продаже |
|
| 3 | 100-3536040 | Корпус нижний с табличкой в сборе | Нет в продаже |
|
| 4 | 100-3536045 | О-образное кольцо | Нет в продаже |
|
| 5 | 100-3536034 | Пробка фитиля | Нет в продаже |
|
| 6 | 100-3536033 | Фитиль | Нет в продаже |
|
| 7 | 100-3536032 | Пружина фитиля | Нет в продаже |
|
| 8 | 100-3536030 | Фитиль в сборе | Нет в продаже |
|
| 9 | 489305-П2 | Кольцо упорное | Нет в продаже |
|
| 10 | 100-3536028 | Обойма | Нет в продаже |
|
| 11 | 100-3536029 | Кольцо | Нет в продаже |
|
| 12 | 100-3536022 | Сопло | Нет в продаже |
|
| 13 | 100-3536020 | Корпус верхний | Нет в продаже |
|
| 14 | 100-3536046 | Рейка мерная | Нет в продаже |
|
| 15 | 100-3536047 | Кольцо | Нет в продаже |
|
| 16 | 100-3536023 | Вставка | Нет в продаже |
|
| 17 | 100-3536025 | О-образное кольцо | Нет в продаже |
|
| 18 | 484105-П29 | Штифт | Нет в продаже |
|
| 19 | 100-3536024 | Тяга предохранителя | Нет в продаже |
|
| 20 | 100-3536069 | О-образное кольцо | Нет в продаже |
|
| 21 | 305890-П2 | Шайба пружинная специальная | Нет в продаже |
|
| 22 | 201456-П29 | Болт | Нет в продаже |
|
5
6
7
8
14
15
16
17
18
19
20
21
22
Содержащиеся в справочниках-каталогах запасные части и детали носят исключительно информационный характер