Назад

Оригинальные каталоги

zoom-in zoom-out enlarge shrink circle-right circle-left file-text2 info cart
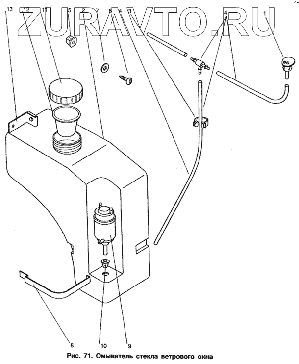
Номер Наименование Цена
1 1202.5208500-01 Жиклер омывателя Нет в продаже
2 127.5208.000 Омыватель электрический (комплект) Нет в продаже
3 2126-3724228 Скоба Нет в продаже
4 2126-5208130 Трубопровод (комплект) Нет в продаже
5 2126-6816096 Гайка квадратная Нет в продаже
6 45 9652 1527 Винт 5х16 Нет в продаже
7 45 9811 1254 Винт 5х30 Нет в продаже
8 127.5208003 Скоба Нет в продаже
9 99.3730000 Мотонасос омывателя Нет в продаже
10 127.5208003 Скоба Нет в продаже
11 127.5208103 Крышка Нет в продаже
12 127.5208105 Фильтр Нет в продаже
13 127.5208002 Кронштейн Нет в продаже
1
2
3
4
4
5
6
7
8
9
10
11
12
13
100%
Содержащиеся в справочниках-каталогах запасные части и детали носят исключительно информационный характер