Оригинальные каталоги
| № | Номер | Наименование | Цена | |
|---|---|---|---|---|
| КЗР0202480 | КЗР0202480 | Устройство натяжное | Нет в продаже |
|
| КУЖ0122010 | КУЖ0122010 | Звездочка | Нет в продаже |
|
| КУЖ0122010-01 | КУЖ0122010-01 | Звездочка в сборе | Нет в продаже |
|
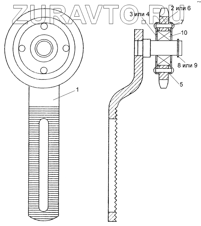
| 1 | КЗР0202620 | Кронштейн | Нет в продаже |
|
| 2 | КИС0600608 | Звездочка | Нет в продаже |
|
| 3 | КУЖ0122401 | Крышка | Нет в продаже |
|
| 4 | КУЖ0122401-01 | Крышка | Нет в продаже |
|
| 5 | КУЖ0122403 | Шайба | Нет в продаже |
|
| 6 | КУЖ0122402 | Звездочка | Нет в продаже |
|
| 7 | Заклепка4х30-10299 | Заклепка 4х30-10299 | Нет в продаже |
|
| 8 | КольцоВ17-13940 | Кольцо В17-13940 | Нет в продаже |
|
| 9 | КольцоВ17-13942 | Кольцо В17-13942 | Нет в продаже |
|
| 10 | 180503С9-8882 | Подшипник 180503С9-8882 | Нет в продаже |
|
1
2
3
4
5
6
7
8
9
10
Содержащиеся в справочниках-каталогах запасные части и детали носят исключительно информационный характер