Оригинальные каталоги
| № | Номер | Наименование | Цена | |
|---|---|---|---|---|
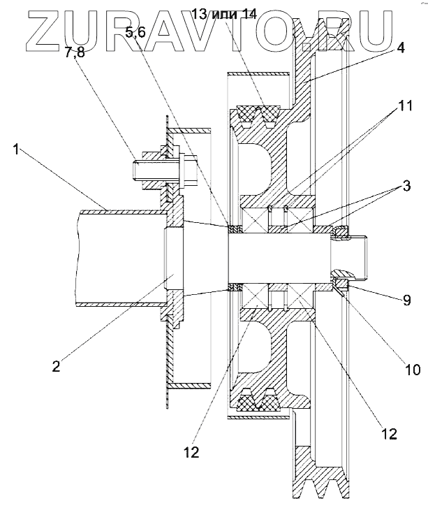
| КЗК-8А-0202000-01 | КЗК-8А-0202000-01 | Очистка | Нет в продаже |
|
| КЗК0202810А | КЗК0202810А | Шкив | Нет в продаже |
|
| 1 | КЗК0202270Б-01 | Труба | Нет в продаже |
|
| 2 | КЗК0202790Б | Ось | Нет в продаже |
|
| 3 | КЗК0202818 | Втулка | Нет в продаже |
|
| 4 | КЗК0202115А | Шкив | Нет в продаже |
|
| 5 | КИС0124404 | Шайба | Нет в продаже |
|
| 6 | КИС0143401 | Шайба | Нет в продаже |
|
| 7 | КСН0100636-02 | Шайба | Нет в продаже |
|
| 8 | БолтМ16-6gx40-7798 | Болт М16-6gx40-7798 | Нет в продаже |
|
| 9 | ГайкаМ36х1,5-6H-11871 | Гайка М36х1,5-6H-11871 | Нет в продаже |
|
| 10 | ШайбаН36.01-11872 | Шайба Н 36.01-11872 | Нет в продаже |
|
| 11 | В80-13943 | Кольцо В80-13943 | Нет в продаже |
|
| 12 | 180508-8882 | Подшипник 180508-8882 | Нет в продаже |
|
| 13 | 2HB4812La | Ремень | Нет в продаже |
|
| 14 | 2HBBP4812 | Ремень | Нет в продаже |
|
1
2
3
4
5
6
7
8
9
10
11
12
12
13
14
Содержащиеся в справочниках-каталогах запасные части и детали носят исключительно информационный характер