Оригинальные каталоги
| № | Номер | Наименование | Цена | |
|---|---|---|---|---|
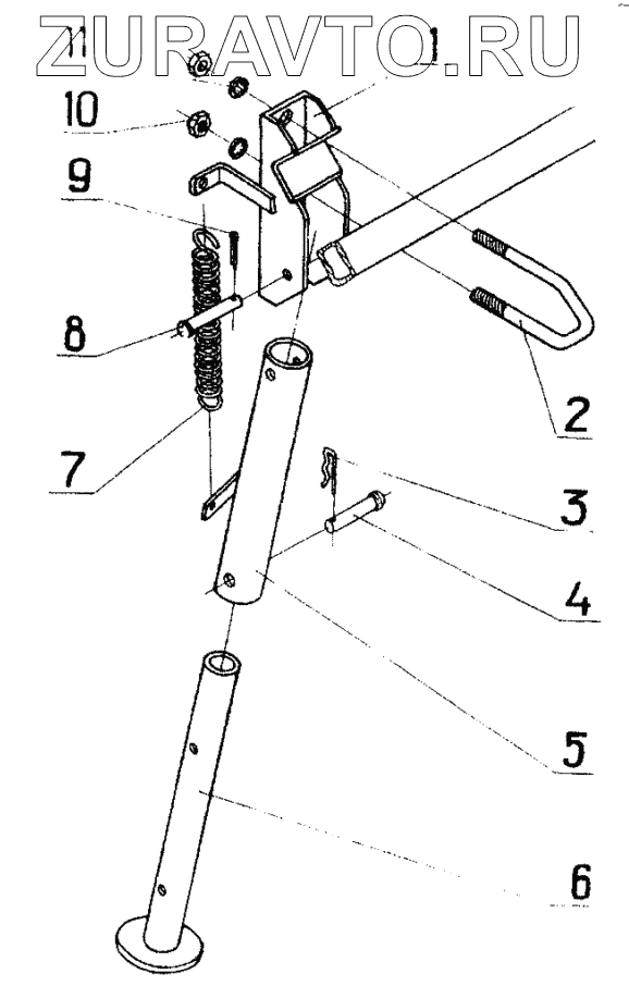
| 1 | СОУ00.230 | Кронштейн | Нет в продаже |
|
| 2 | [3М12х68х95/35.56.Ц9хр. ОСТ23.2.10] | Скоба 3М12х68х95/35.56.Ц9хр. ОСТ23.2.10 | Нет в продаже |
|
| 3 | С54.602 | Шплинт пружинный | Нет в продаже |
|
| 4 | С4.603-02 | Штырь | Нет в продаже |
|
| 5 | СОУ00.250 | Труба | Нет в продаже |
|
| 6 | СОУ00.240 | Подставка | Нет в продаже |
|
| 7 | 552.7.009 | Пружина | Нет в продаже |
|
| 8 | С4.603-04 | Штырь | Нет в продаже |
|
| 9 | [Шплинт 4х2.019 ГОСТ397] | Шплинт 4х2.019 ГОСТ397 | Нет в продаже |
|
| 10 | [Гайка М12-6Н.6.019 ГОСТ5915] | Гайка М12-6Н.6.019 ГОСТ5915 | Нет в продаже |
|
| 11 | [Шайба 12.65Г.019 ГОСТ6402] | Шайба 12.65Г.019 ГОСТ6402 | Нет в продаже |
|
1
2
3
4
5
6
7
8
9
10
11
Содержащиеся в справочниках-каталогах запасные части и детали носят исключительно информационный характер