Оригинальные каталоги
| № | Номер | Наименование | Цена | |
|---|---|---|---|---|
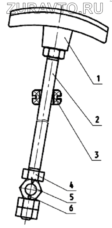
| 2822-4218115 | 2822-4218115 | Тяга | Нет в продаже |
|
| 1 | 50-1310136-А-01 | Рукоятка | Нет в продаже |
|
| 2 | 2822-4218119 | Тяга | Нет в продаже |
|
| 3 | 36-3723024-Б | Втулка | Нет в продаже |
|
| 4 | ГайкаМ8-6Н.6.019 | Гайка | Нет в продаже |
|
| 5 | 70-1108317 | Бонка | Нет в продаже |
|
| 6 | Шплинт1,6х12.019 | Шплинт 1,6х12.019 | Нет в продаже |
|
1
2
3
4
5
6
Содержащиеся в справочниках-каталогах запасные части и детали носят исключительно информационный характер