Оригинальные каталоги
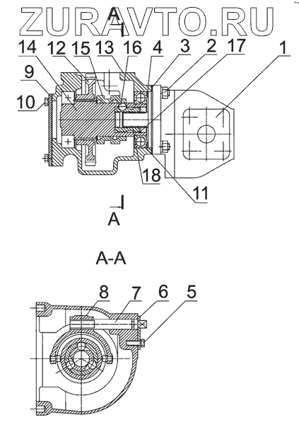
| № | Номер | Наименование | Цена | |
|---|---|---|---|---|
| 1 | НШ32 | Насос | Нет в продаже |
|
| 2 | М10-6Н | Гайка | Нет в продаже |
|
| 3 | 50-1022062-Б1 | Прокладка | Нет в продаже |
|
| 4 | 100-4617121 | Кольцо | Нет в продаже |
|
| 5 | М8х16 | Болт | Нет в продаже |
|
| 6 | 100-4617119 | Пластина | Нет в продаже |
|
| 7 | 100-4617118 | Ось | Нет в продаже |
|
| 8 | 85-4604030 | Вилка | Нет в продаже |
|
| 9 | 100-4617122 | Крышка привода | Нет в продаже |
|
| 10 | М8х20 | Болт | Нет в продаже |
|
| 11 | 210АУШ1 | Подшипник | Нет в продаже |
|
| 12 | 100-4617117 | Колесо зубчатое | Нет в продаже |
|
| 13 | 100-4617111 | Корпус | Нет в продаже |
|
| 14 | 100-4617120-Б | Вал | Нет в продаже |
|
| 15 | 100-4617113 | Муфта | Нет в продаже |
|
| 16 | 11,112-100 | Шарик | Нет в продаже |
|
| 17 | С40 | Кольцо | Нет в продаже |
|
| 18 | 100-4617114 | Втулка | Нет в продаже |
|
1
2
3
4
5
6
7
8
9
10
11
12
13
14
15
16
17
18
Содержащиеся в справочниках-каталогах запасные части и детали носят исключительно информационный характер