Оригинальные каталоги
| № | Номер | Наименование | Цена | |
|---|---|---|---|---|
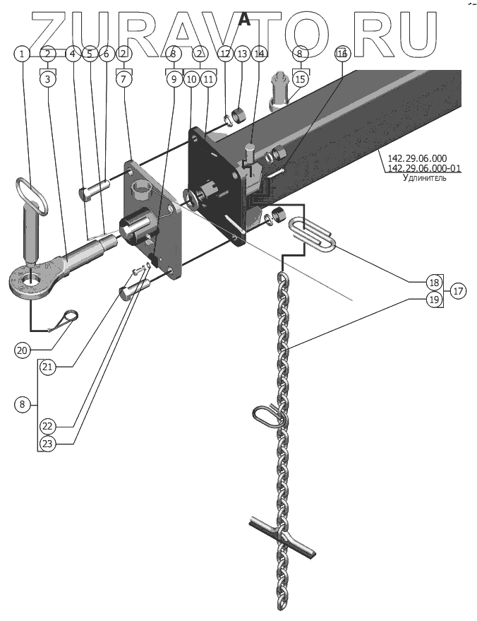
| 142.29.06.000 | 142.29.06.000 | Удлинитель | Нет в продаже |
|
| 142.29.06.000-01 | 142.29.06.000-01 | Удлинитель | Нет в продаже |
|
| 1 | РСМ-106.14.63.080 | Шкворень | Нет в продаже |
|
| 2 | 142.29.00.160 | Серьга | Нет в продаже |
|
| 3 | Жхн 05.602 | Звено присоединительное | Нет в продаже |
|
| 4 | РСМ-106.01.01.014а-01 | Поводок | Нет в продаже |
|
| 5 | РСМ-10.01.01.809а | Трубка | Нет в продаже |
|
| 6 | М20-6gx60.66.019 ГОСТ 7798-70 | Болт | Нет в продаже |
|
| 7 | 142.29.00.170 | Фланец | Нет в продаже |
|
| 8 | 142.29.10.000 | Коммуникации электрические тележки | Нет в продаже |
|
| 9 | 54-51452-09 | Скоба | Нет в продаже |
|
| 10 | С.30х3,9.01.019 ГОСТ 11371-78 | Шайба | Нет в продаже |
|
| 11 | М30х2-6H.6.019 ГОСТ 5918-73 | Гайка | Нет в продаже |
|
| 12 | М20-6gx60.66.019 ГОСТ 7798-70 | Болт | Нет в продаже |
|
| 13 | М20-6H.6.019 ГОСТ 5915-70 | Гайка | Нет в продаже |
|
| 14 | 6-20 b12x40.35.ц9.хр ГОСТ 9650-80 | Ось | Нет в продаже |
|
| 15 | ПС300А3 ГОСТ 9200-76 | Вилка | Нет в продаже |
|
| 16 | 5x32.019 ГОСТ 397-79 | Шплинт | Нет в продаже |
|
| 17 | 142.29.00.040 | Цепь | Нет в продаже |
|
| 18 | 142.29.00.602 | Скоба | Нет в продаже |
|
| 19 | 3518060-10700 | Цепь страховая | Нет в продаже |
|
| 20 | 44-60252 | Шплинт | Нет в продаже |
|
| 21 | М8-6gx16.88.35.019 ГОСТ 7798-70 | Болт | Нет в продаже |
|
| 22 | 8Т 65Г 019 ГОСТ 6402-70 | Шайба | Нет в продаже |
|
| 23 | С.8.01.019 ГОСТ 11371-78 | Шайба | Нет в продаже |
|
142.29.06.000
142.29.06.000-01
1
2
2
2
3
4
5
6
7
8
8
8
9
10
11
12
13
14
15
16
17
18
19
20
21
22
23
Содержащиеся в справочниках-каталогах запасные части и детали носят исключительно информационный характер