Назад

Оригинальные каталоги

zoom-in zoom-out enlarge shrink circle-right circle-left file-text2 info cart
Номер Наименование Цена
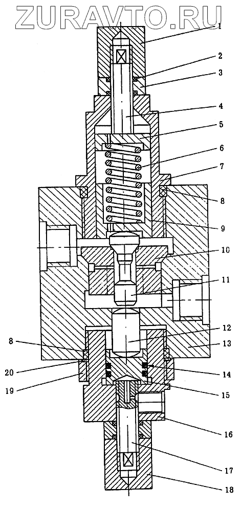
1 КС-3577.84.716 Колпачок Нет в продаже
2 015-019-25-2-2 ГОСТ 9833-73 Кольцо Нет в продаже
3 КС-3577.84.718 Гайка Нет в продаже
4 КС-3577.84.713 Винт Нет в продаже
5 КС-3577.84.712 Шайба Нет в продаже
6 КС-3577.84.709 Пружина Нет в продаже
7 КС-3577.84.711 Стакан Нет в продаже
8 045-050-30-2-2 ГОСТ 9833-73 Кольцо Нет в продаже
9 КС-3577.84.707-01 Поршень Нет в продаже
10 КС-3577.84.706-1 Клапан Нет в продаже
11 КС-357784.705 Золотник Нет в продаже
12 КС-3577.84.714 Толкатель Нет в продаже
13 КС-3577.84.704 Корпус Нет в продаже
14 030-035-30-2-2 ГОСТ 9833-73 Кольцо Нет в продаже
15 КС-3577.84.702-1 Поршень Нет в продаже
16 КС-3577.84.701-1 Штуцер Нет в продаже
17 КС-3577.84.723 Винт Нет в продаже
18 КС-3577.84.716-01 Колпачок Нет в продаже
19 КС-3577.84.721 Гайка Нет в продаже
20 КС-3577.84.719-1 Шайба Нет в продаже
1
2
3
4
5
6
7
8
8
9
10
11
12
13
14
15
16
17
18
19
20
100%
Содержащиеся в справочниках-каталогах запасные части и детали носят исключительно информационный характер