Оригинальные каталоги
| № | Номер | Наименование | Цена | |
|---|---|---|---|---|
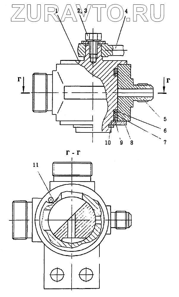
| 1 | У034.00.002-11 | Корпус | Нет в продаже |
|
| 2 | М8-8gх20.46.20.019 ГОСТ 7798-70 | Болт | Нет в продаже |
|
| 3 | 8.65Г.019 ГОСТ 6402-70 | Шайба | Нет в продаже |
|
| 4 | У034.20000-9 | Ручка | Нет в продаже |
|
| 5 | У.034.00.006-11 | Обойма | Нет в продаже |
|
| 6 | 046-052-36-2-2 ГОСТ 9833-73 | Кольцо | Нет в продаже |
|
| 7 | КС-3577.83.311 | Кольцо защитное | Нет в продаже |
|
| 8 | У034.00.003 | Шайба | Нет в продаже |
|
| 9 | У034.00.001-1 | Шайба | Нет в продаже |
|
| 10 | В40 ГОСТ 13942-68 | Кольцо | Нет в продаже |
|
| 11 | У034.00.004 | Упор | Нет в продаже |
|
1
2
3
4
5
6
7
8
9
10
11
Содержащиеся в справочниках-каталогах запасные части и детали носят исключительно информационный характер