Оригинальные каталоги
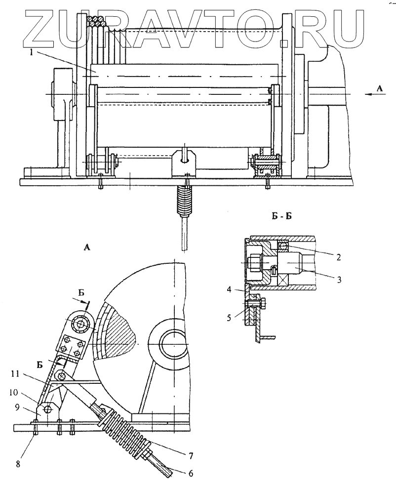
| № | Номер | Наименование | Цена | |
|---|---|---|---|---|
| 1 | КС-35714.56.004 | Труба | Нет в продаже |
|
| 2 | 60207 ГОСТ 7242-81 | Подшипник | Нет в продаже |
|
| 3 | КС-35714.56.003 | Ось | Нет в продаже |
|
| 4 | КС-35714.56.040 | Кронштейн | Нет в продаже |
|
| 5 | М10-8gх20.46.019 ГОСТ 7798-70 | Болт | Нет в продаже |
|
| 6 | КС-35714.56.090 | Тяга | Нет в продаже |
|
| 7 | КС-35714.56.006 | Пружина | Нет в продаже |
|
| 8 | M10-8gx20.46.019 ГОСТ 7798-70 | Болт | Нет в продаже |
|
| 9 | КС-35714.56.070 | Кронштейн | Нет в продаже |
|
| 10 | КС-35714.56.007 | Ось | Нет в продаже |
|
| 11 | КС-35714.56.010 | Кронштейн | Нет в продаже |
|
1
2
3
4
5
6
7
8
9
10
11
Содержащиеся в справочниках-каталогах запасные части и детали носят исключительно информационный характер