Оригинальные каталоги
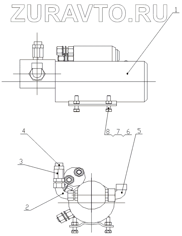
| № | Номер | Наименование | Цена | |
|---|---|---|---|---|
| 1 | 12869-00 | Lash-up Clamp | Нет в продаже |
|
| 2 | 2HC9-22-180GZ | Connector | Нет в продаже |
|
| 3 | RD-12L | Valve | Нет в продаже |
|
| 4 | 2C-22-18Z | Connector | Нет в продаже |
|
| 5 | 1CM-30-27WD (М27X2) Z | Connector | Нет в продаже |
|
| 6 | GB/T 93-1987 | Washer | Нет в продаже |
|
| 7 | GB/T 5783-2000 | Bolt | Нет в продаже |
|
| 8 | GB/T 41-2000 | Nut M10 | Нет в продаже |
|
1
2
3
4
5
6
7
8
Содержащиеся в справочниках-каталогах запасные части и детали носят исключительно информационный характер