Оригинальные каталоги
| № | Номер | Наименование | Цена | |
|---|---|---|---|---|
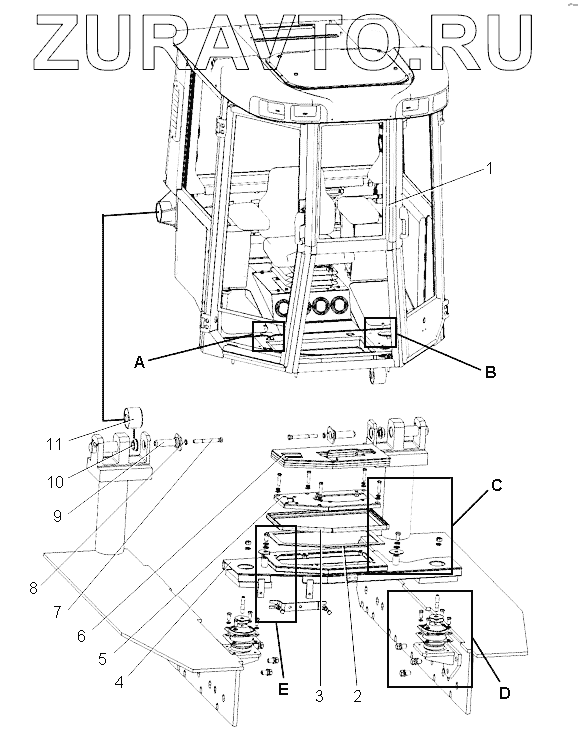
| 114-901СП | 114-901СП | Установка модуля рабочего места | Нет в продаже |
|
| 1 | 114-902СП | Модуль рабочего места | Нет в продаже |
|
| 2 | 700-40-9639 | Прокладка | Нет в продаже |
|
| 3 | 114-24-160СП | Уплотнение | Нет в продаже |
|
| 4 | 114-24-175СП | Балка | Нет в продаже |
|
| 5 | 114-24-159СП | Основание | Нет в продаже |
|
| 6 | 114-24-143СП | Вкладыш | Нет в продаже |
|
| 7 | БолтМ16-6gх140.66.019 | Болт М16-6gх140.66.019 | Нет в продаже |
|
| 8 | Шайба16.ОТ.65Г.019 | Шайба 16.ОТ.65Г.019 | Нет в продаже |
|
| 9 | 114-24-131 | Вал | Нет в продаже |
|
| 10 | 114-24-130 | Втулка | Нет в продаже |
|
| 11 | НО04618702 | Гидровтулка НО 04618702 | Нет в продаже |
|
1
2
3
4
5
6
7
8
9
10
11
Содержащиеся в справочниках-каталогах запасные части и детали носят исключительно информационный характер