Оригинальные каталоги
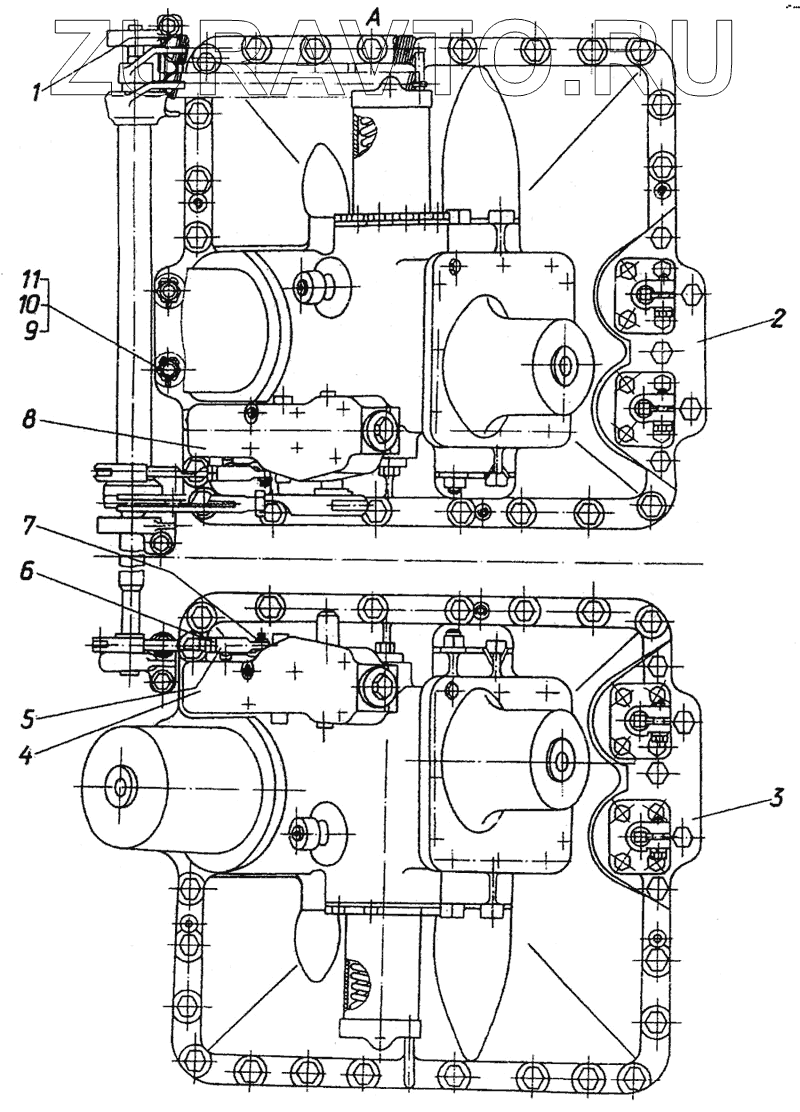
| № | Номер | Наименование | Цена | |
|---|---|---|---|---|
| 1 | 700-38-996 | Пружина | Нет в продаже |
|
| 2 | 748-18-212СП | Механизм управления правый | Нет в продаже |
|
| 3 | 748-18-213СП | Механизм управления левый | Нет в продаже |
|
| 4 | 748-18-163СП | Золотник | Нет в продаже |
|
| 5 | 748-18-452-1 | Проушина | Нет в продаже |
|
| 6 | Гайка шестигранная специальная ГПШ М10х1 | Гайка шестигранная специальная ГПШ М10х1 | Нет в продаже |
|
| 7 | 700-31-344 | Шайба | Нет в продаже |
|
| 8 | 748-18-162СП | Золотник | Нет в продаже |
|
| 9 | 30335 | Гайка | Нет в продаже |
|
| 10 | 700-29-2256 | Шпилька | Нет в продаже |
|
| 11 | Шплинт 4х36.019 [ГОСТ 397-79] | Шплинт 4х36.019 | Нет в продаже |
|
1
2
3
4
5
6
7
8
9
10
11
Содержащиеся в справочниках-каталогах запасные части и детали носят исключительно информационный характер