Оригинальные каталоги
| № | Номер | Наименование | Цена | |
|---|---|---|---|---|
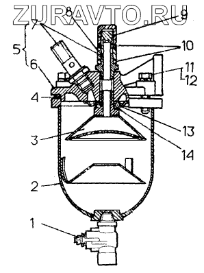
| 51-70-148СП | 51-70-148СП | Фильтр топливный грубой очистки | Нет в продаже |
|
| 1 | КранПП6-1 | Кран ПП6-1 | Нет в продаже |
|
| 2 | 51-70-138СП | Стакан | Нет в продаже |
|
| 3 | 51-70-142СП | Отражатель | Нет в продаже |
|
| 4 | 700-40-20012 | Прокладка | Нет в продаже |
|
| 5 | 51-70-140СП | Корпус | Нет в продаже |
|
| 6 | 51-70-44 | Корпус | Нет в продаже |
|
| 7 | 700-41-3747 | Штуцер | Нет в продаже |
|
| 8 | 51-70-48 | Втулка | Нет в продаже |
|
| 9 | 700-30-2296 | Гайка накидная | Нет в продаже |
|
| 10 | 51-06-8 | Кольцо | Нет в продаже |
|
| 11 | 356-73 | Болт М8х30 | Нет в продаже |
|
| 11 | БолтМ8x30.58.019 | Болт М8x30.58.019 | Нет в продаже |
|
| 12 | Шайба8Т.65Г.09 | Шайба 8Т.65Г.09 | Нет в продаже |
|
| 13 | 51-70-45 | Распределитель | Нет в продаже |
|
| 14 | Шайба14.ОТ.65Г.09 | Шайба 14.ОТ.65Г.09 | Нет в продаже |
|
1
2
3
4
5
6
7
8
9
10
11
11
12
13
14
Содержащиеся в справочниках-каталогах запасные части и детали носят исключительно информационный характер