Назад

Оригинальные каталоги

zoom-in zoom-out enlarge shrink circle-right circle-left file-text2 info cart
Номер Наименование Цена
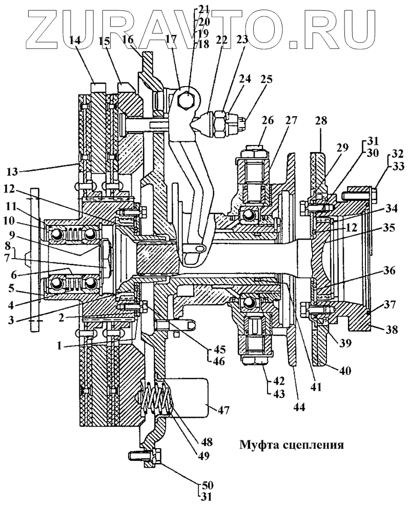
18-14-4-СП 18-14-4-СП Муфта сцепления Нет в продаже
20-14-2 СП 20-14-2 СП Муфта сцепления тракторов болотоходных модификаций Нет в продаже
1 18-14-114 Крышка Нет в продаже
2 700-40-2532 Прокладка Нет в продаже
3 18-14-78 Муфта Нет в продаже
4 38462 Пружина Нет в продаже
5 18-14-104 Барабан зубчатый Нет в продаже
6 18-14-62 Втулка Нет в продаже
7 3170 Шайба Нет в продаже
8 700-30-2032 Гайка Нет в продаже
9 50-14-2 Пластина Нет в продаже
10 18-14-66 Кольцо Нет в продаже
11 Подшипник 180308У1С9Ш или 180308УС9 Подшипник 180308У1С9Ш или 180308УС9 Нет в продаже
12 46812 Кольцо Нет в продаже
13 18-14-135-СП Диск ведомый Нет в продаже
14 18-14-44 Диск ведущий Нет в продаже
15 50-14-64 Диск нажимной Нет в продаже
16 18-14-142 СП Фланец Нет в продаже
17 18-14-92 Рычаг Нет в продаже
18 18-14-49 Палец Нет в продаже
19 18-14-69 Ролик Нет в продаже
20 Гайка М12х1,25-6Н.6А.019 Гайка М12х1,25-6Н.6А.019 Нет в продаже
21 Шплинт 3,2х25 019 Шплинт 3,2х25 019 Нет в продаже
22 18-14-47 Призма Нет в продаже
23 18-14-130 Гайка Нет в продаже
24 Проволока КОЗ (см) Проволока КОЗ (см) Нет в продаже
25 18-14-131 Болт Нет в продаже
26 18-14-128 Палец Нет в продаже
27 24-14-104 СП Рычаг Нет в продаже
28 18-14-140-01 СП Тормозок Нет в продаже
29 18-14-122 Пластина Нет в продаже
30 Болт М12х25.88.45.019 Болт М12х25.88.45.019 Нет в продаже
31 Шайба 12 0Т 65Г 09 Шайба 12 0Т 65Г 09 Нет в продаже
32 12304 Болт Нет в продаже
33 31545 Пластина замковая Нет в продаже
34 700-58-2520 Кольцо Нет в продаже
35 50-14-23 Вал Нет в продаже
36 18-14-125 Крышка Нет в продаже
37 21363 Кольцо Нет в продаже
38 50-14-26 Муфта Нет в продаже
39 700-40-5259 Прокладка Нет в продаже
40 18-14-135 Накладка фрикционная Нет в продаже
41 700-40-2122 Кольцо Нет в продаже
42 18-14-127 Палец Нет в продаже
43 31364 Пластина Нет в продаже
44 18-14-1 33СП Муфта включения Нет в продаже
45 Болт М10х25.46.019 Болт М10х25.46.019 Нет в продаже
46 Шайба 10 0Т 65Г 09 Шайба 10 0Т 65Г 09 Нет в продаже
47 50-14-63 Стакан Нет в продаже
48 38461 Пружина Нет в продаже
49 38460 Пружина Нет в продаже
50 Болт М12-6gх35.46.019 Болт М12-6gх35.46.019 Нет в продаже
1
2
3
4
5
6
7
8
9
10
11
12
12
13
14
15
16
17
18
19
20
21
22
23
24
25
26
27
28
29
30
31
31
32
33
34
35
36
37
38
39
40
41
42
43
44
45
46
47
48
49
50
100%
Содержащиеся в справочниках-каталогах запасные части и детали носят исключительно информационный характер