Оригинальные каталоги
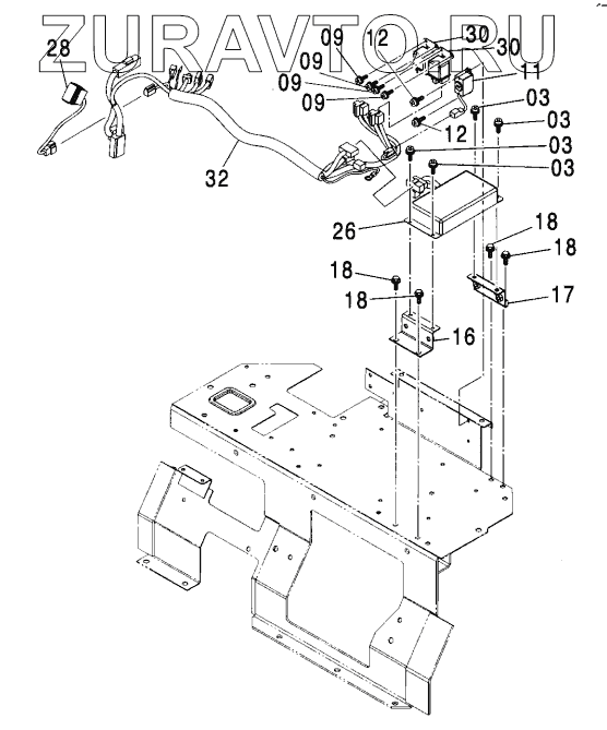
| № | Номер | Наименование | Цена | |
|---|---|---|---|---|
| 3 | J460616 | SCREW, SEMS | Нет в продаже |
|
| 9 | J450614 | SCREW, SEMS | Нет в продаже |
|
| 11 | 4362181 | BUZZER | Нет в продаже |
|
| 12 | J460416 | SCREW, SEMS | Нет в продаже |
|
| 16 | 9756146 | BRACKET | Нет в продаже |
|
| 17 | 9756147 | BRACKET | Нет в продаже |
|
| 18 | J020820 | BOLT, SEMS | Нет в продаже |
|
| 26 | 4341466 | CONTROLLER | Нет в продаже |
|
| 28 | 4352946 | SWITCH | Нет в продаже |
|
| 30 | 4352729 | RELAY | Нет в продаже |
|
| 32 | 0004013 | HARNESS, WIRE | Нет в продаже |
|
3
3
3
3
9
9
9
9
11
12
12
16
17
18
18
18
18
26
28
30
30
32
Содержащиеся в справочниках-каталогах запасные части и детали носят исключительно информационный характер