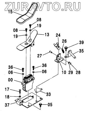
Оригинальные каталоги
| № | Номер | Наименование | Цена | |
|---|---|---|---|---|
| 9197490 | 9197490 | VALVE, PILOT | Нет в продаже |
|
| 5 | J011030 | BOLT, SEMS | Нет в продаже |
|
| 5 | J271030 | BOLT, SEMS | Нет в продаже |
|
| 6 | А590910 | WASHER, SPRING | Нет в продаже |
|
| 8 | J781020 | BOLT, SOCKET | Нет в продаже |
|
| 10 | 8080596 | BRACKET | Нет в продаже |
|
| 13 | 8084644 | PEDAL | Нет в продаже |
|
| 15 | 4283758 | COVER | Нет в продаже |
|
| 17 | 4317640 | BOLT | Нет в продаже |
|
| 18 | М500807 | NUT | Нет в продаже |
|
| 19 | А590910 | WASHER, SPRING | Нет в продаже |
|
| 24 | 8084658 | STOPPER | Нет в продаже |
|
| 26 | 4279604 | SPRING | Нет в продаже |
|
| 27 | 4287795 | PIN | Нет в продаже |
|
| 28 | А763016 | PIN, SPLIT | Нет в продаже |
|
| 29 | А590110 | WASHER, PLANE | Нет в продаже |
|
| 33 | 4461388 | SHIM | Нет в продаже |
|
| 35 | 8083128 | BRACKET | Нет в продаже |
|
| 36 | J781030 | BOLT, SOCKET | Нет в продаже |
|
| 37 | 8087747 | PLATE | Нет в продаже |
|
| 39 | J011040 | BOLT, SEMS | Нет в продаже |
|
| 39 | J271040 | BOLT, SEMS | Нет в продаже |
|
9197490
5
5
6
6
8
8
10
13
15
17
18
19
19
24
26
27
28
29
33
35
36
36
37
39
39
Содержащиеся в справочниках-каталогах запасные части и детали носят исключительно информационный характер