Оригинальные каталоги
| № | Номер | Наименование | Цена | |
|---|---|---|---|---|
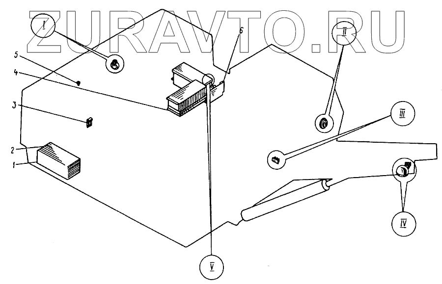
| МТП-71А.42.00.000 | МТП-71А.42.00.000 | Электрооборудование с электромонтажом | Нет в продаже |
|
| 1 | МТП-71А.42.03.000 | Установка блока корректора | Нет в продаже |
|
| 2 | МТП-71А.42.04.000 | Установка блока САРН | Нет в продаже |
|
| 3 | МТП-71А.39.02.000 | Щиток подогревателя с электромонтажом | Нет в продаже |
|
| 4 | МТП-71А.42.02.000 | Установка аккумулятора | Нет в продаже |
|
| 5 | 37-003-271 | Датчик температуры ТМ100 | Нет в продаже |
|
| 6 | МТП-71А.42.01.000 | Установка приборов в нише с электромонтажом | Нет в продаже |
|
1
2
3
4
5
6
Содержащиеся в справочниках-каталогах запасные части и детали носят исключительно информационный характер