Назад

Оригинальные каталоги

zoom-in zoom-out enlarge shrink circle-right circle-left file-text2 info cart
Номер Наименование Цена
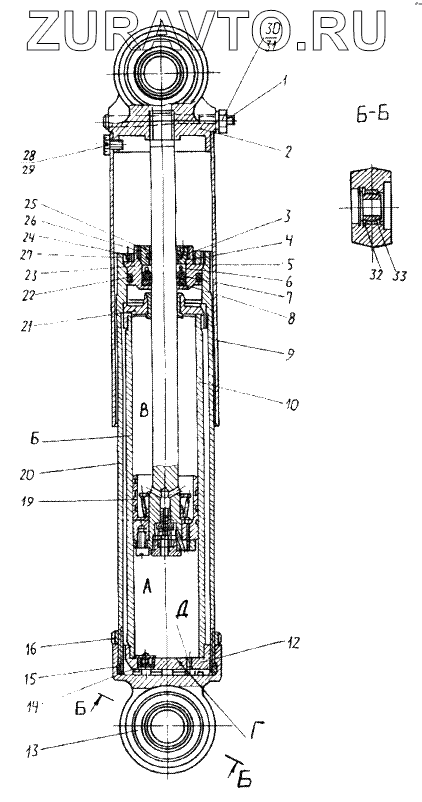
7426-2905306 7426-2905306 Амортизатор Нет в продаже
1 543-2905363 Клин штока Нет в продаже
2 7426-2905462 Головка верхняя амортизатора Нет в продаже
3 543-2905376 Кольцо Нет в продаже
4 7426-2905375 Прокладка регулировочная Нет в продаже
5 7426-2905373 Шайба уплотнительная Нет в продаже
6 7426-2905339 Манжета сальника Нет в продаже
7 543-2905338-Б Манжета сальника Нет в продаже
8 7426-2905347 Шайба распорная Нет в продаже
9 7426-2905446 Кожух амортизатора Нет в продаже
10 535-2905318 Цилиндр внутренний Нет в продаже
12 7426-2905380 Крышка амортизатора нижняя Нет в продаже
13 7426-2905442 Головка нижняя амортизатора Нет в продаже
15 535А-2905402 Кольцо Нет в продаже
16 537-2905398 Гайка Нет в продаже
19 7426-2905350 Поршень амортизатора Нет в продаже
20 7426-2905312 Цилиндр наружный Нет в продаже
21 535-2905322 Крышка верхняя Нет в продаже
22 060-070-58 Кольцо Нет в продаже
23 7426-2905336 Корпус сальника Нет в продаже
24 7426-2905348 Гайка кольцевая Нет в продаже
25 7426-2905349 Гайка Нет в продаже
26 7426-2905354 Кольцо стопорное Нет в продаже
27 7426-2905355 Кольцо стопорное Нет в продаже
28 258262-П8 Шплинт 1,2х400 Нет в продаже
29 206460-П29 Болт 3М6-6gх12 Нет в продаже
30 252136-П2 Шайба Нет в продаже
31 250512-П29 Гайка М10-6Н Нет в продаже
32 537-2905490 Кольцо ГОСТ13941-86 Нет в продаже
33 ШС35 Подшипник ГОСТ3635-78 Нет в продаже
1
2
3
4
5
6
7
8
9
10
12
13
15
16
19
20
21
22
23
24
25
26
27
28
29
30
31
32
33
100%
Содержащиеся в справочниках-каталогах запасные части и детали носят исключительно информационный характер