Оригинальные каталоги
| № | Номер | Наименование | Цена | |
|---|---|---|---|---|
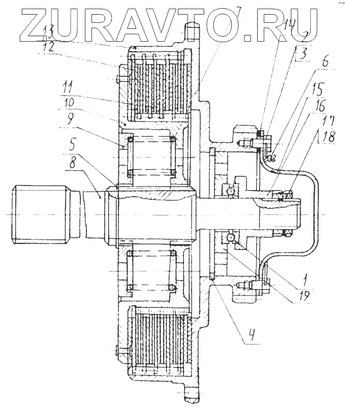
| 537Г-4501510 | 537Г-4501510 | Фрикцион | Нет в продаже |
|
| 1 | П8206 | Подшипник ГОСТ6874-75 | Нет в продаже |
|
| 2 | 206496-П2 | Болт 3М6-6gх16 | Нет в продаже |
|
| 3 | 258268-П8 | Шплинт 1,2х600 | Нет в продаже |
|
| 4 | 535А-2312262-10 | Кольцо 1Б110 | Нет в продаже |
|
| 5 | 537-2405049-10 | Кольцо 1Б50 | Нет в продаже |
|
| 6 | 49Б-3941008 | Плом6а | Нет в продаже |
|
| 7 | 537Г-4501156 | Пружина | Нет в продаже |
|
| 8 | 537Г-4501515 | Валик | Нет в продаже |
|
| 9 | 537Г-4501520 | Диск | Нет в продаже |
|
| 10 | 537Г-4501522 | Ступица в сборе | Нет в продаже |
|
1
2
3
4
5
6
7
8
9
10
Содержащиеся в справочниках-каталогах запасные части и детали носят исключительно информационный характер