Оригинальные каталоги
| № | Номер | Наименование | Цена | |
|---|---|---|---|---|
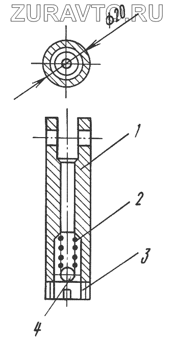
| 537-2402490 | 537-2402490 | Плунжер с клапаном | Нет в продаже |
|
| 1 | 537-2402440-Б | Плунжер | Нет в продаже |
|
| 2 | 535А-1512125 | Пружина фиксатора | Нет в продаже |
|
| 3 | 537-2402492 | Седло | Нет в продаже |
|
| 4 | Ш9,525-60 | Шарик ГОСТ3722-81 | Нет в продаже |
|
1
2
3
4
Содержащиеся в справочниках-каталогах запасные части и детали носят исключительно информационный характер